通州环球影城票价

2022北京环球影城门票价格一览表附购票入口
图片尺寸1080x3379
北京环球影城票价公布淡季418元旺季638元
图片尺寸1016x607
国庆期间748元人北京环球影城门票0点抢
图片尺寸906x579
北京环球影城单日门票价格详情(优速通 vip体验票)
图片尺寸750x4530
北京环球影城门票价格12月份价格对比
图片尺寸1080x1439
北京环球影城
图片尺寸1080x810
北京环球影城票价
图片尺寸1080x1440
环球影城价格表
图片尺寸1065x1419
北京环球影城门票价格公布啦
图片尺寸1080x875
北京环球影城游玩攻略交通票价一览表
图片尺寸964x873
北京环球影城指定单日门票将采用四级票价结构,推出淡季日,平季日
图片尺寸1075x714
北京环球影城票价公布,贵吗?
图片尺寸640x475
最低418元,北京环球影城的门票价格"美丽"吗?
图片尺寸820x644
北京环球影城4门票价格来喽
图片尺寸750x1000
北京环球影城优速通包含门票吗
图片尺寸391x678
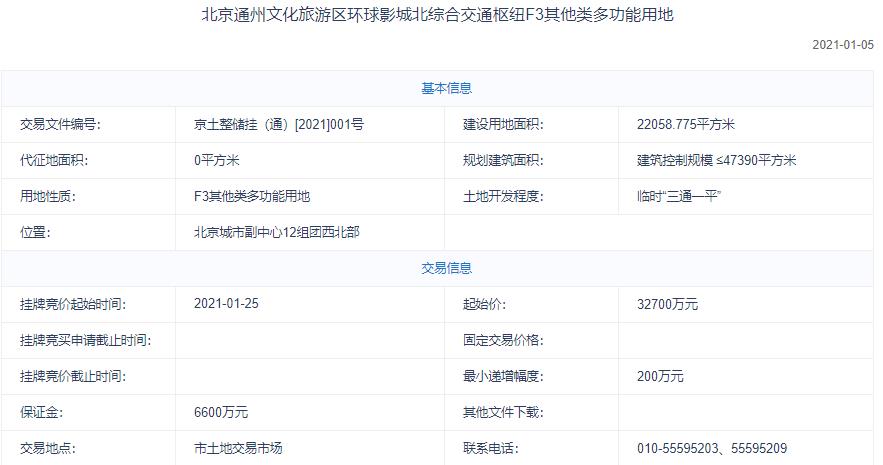
北京通州文化旅游区环球影城327亿元挂牌1宗地块
图片尺寸883x465
北京环球影城门票开售国内最高乐园票价诞生
图片尺寸660x832
比照其他国家,美国洛杉矶和奥兰多的两家环球影城单日票价约为千元
图片尺寸1080x2090
比如, 大阪的环球影城从2019年开始采取浮动票价制度: 一个
图片尺寸1080x451
北京环球影城票价公布,贵吗?
图片尺寸610x632