通用技术雨伞架设计图

本实用新型涉及雨伞收纳装置技术领域,具体涉及一种雨伞架.
图片尺寸972x1000
背景技术:雨伞是雨天的必备工具,但是在下雨天将雨伞带到学校教室
图片尺寸906x1000
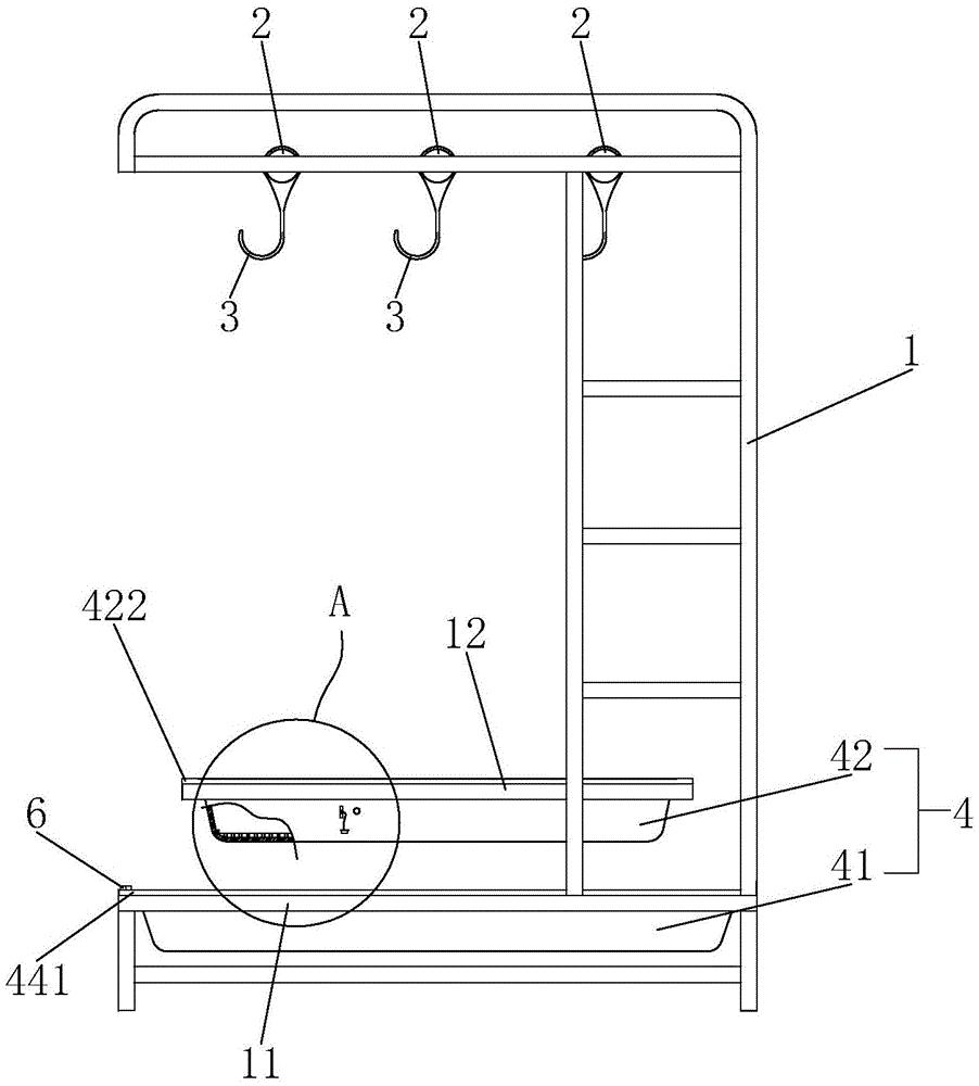
多功能雨伞架的制作方法
图片尺寸897x1000
背景技术:为了能稳定放置雨伞,现有雨伞架通常设计为方形柜体或框架
图片尺寸1000x851
专业定制各种款式雨伞架
图片尺寸1068x768
一种带展板的雨伞架的制作方法
图片尺寸943x1000
及其制品制作技术 本发明涉及办公家具领域,具体涉及一种多功能雨伞架
图片尺寸960x1000
种改良了伞巢的伞,其包括伞中棒,伞巢以及枢接在所述伞巢上的伞面骨架
图片尺寸1000x824
cn101601527a_方便装配的晴雨伞伞骨架失效
图片尺寸2020x2153
而且能够使雨水与雨伞快速分离,属于生活辅助用具技术领域
图片尺寸740x1000
可折叠雨伞架 - cn201720016442.
图片尺寸968x1000
一种可折叠的雨伞沥水架
图片尺寸859x1000
cn209573524u_一种胶囊折叠伞
图片尺寸995x1000
cn209463797u_一种酒店停车场专用自助雨伞架有效
图片尺寸925x1000
背景技术:伞骨指的就是支撑雨伞的一条一条的骨架,以前的伞骨大多为
图片尺寸1000x832
cn209360316u_一种教室用雨伞收纳架有效
图片尺寸902x1000
背景技术:雨伞放置架是对雨伞进行放置的支撑架,广泛应用于公共场合
图片尺寸927x1000
本实用新型涉及雨伞领域,具体的是一种6k自收反向伞架.
图片尺寸1000x640
一种雨伞架
图片尺寸851x1252
服装鞋帽珠宝饰品制造的工具及其制品制作技术
图片尺寸1000x922