逻辑电路图怎么画

(要求:画出不同状态的等效电路图,标图再求解)
图片尺寸1040x980
接下来我们将在这些基本逻辑门的基础上来实现一些复杂的组合电路
图片尺寸1803x1504
画电路图
图片尺寸2339x1654
什么是组合逻辑电路,组合逻辑电路的基本特点和种类详解
图片尺寸3000x1470
异或门介绍 以下是异或门电路的电路图以及逻辑符号: 这个式子通常
图片尺寸660x422
我设计的双路数控电源的电路部份,有一些部份不明.
图片尺寸2718x1788
什么是组合逻辑电路组合逻辑电路的基本特点和种类详解
图片尺寸2000x1542
与非门逻辑电路图
图片尺寸377x284
状态方程和驱动方程,画出逻辑电路图如下:5,画逻辑电路图当电路进入
图片尺寸2787x1458
请高手帮忙画出以下表达式的逻辑电路图!
图片尺寸734x406
数学帝快来,画逻辑门电路
图片尺寸876x420
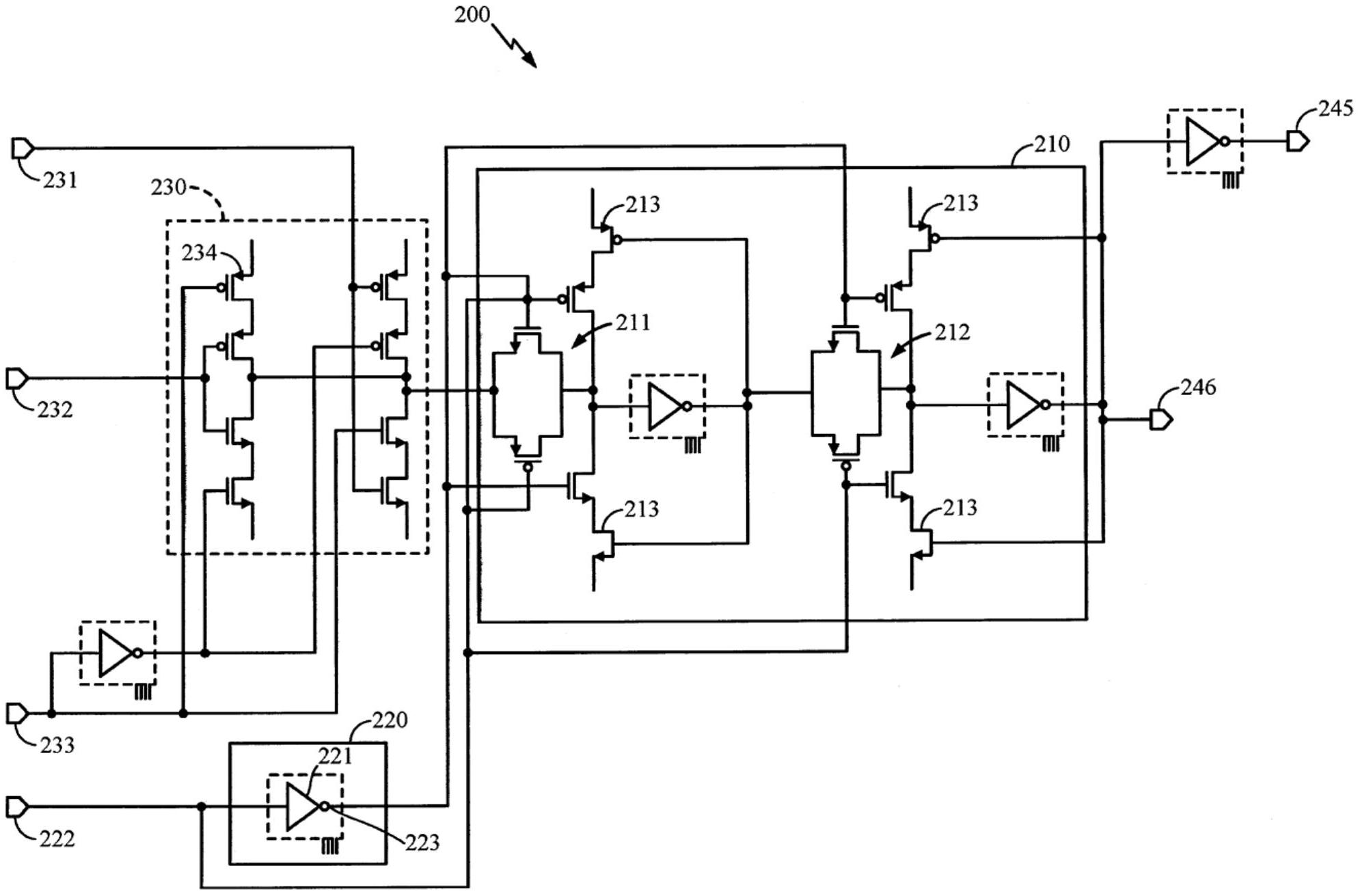
cn107210066b_三维逻辑电路有效
图片尺寸1990x1311
如图所示的电路图,在下列情况下,求:当s1闭合,s2和s3都断开时,电流表
图片尺寸611x520
根据下列实物电路画出相应的电路图
图片尺寸2368x4208
电路如图,求受控电流源两端的电压u2及电流源i5发出的功率p(图中右边
图片尺寸2592x1936
逻辑电路中有三个输入,怎么分析它的逻辑功能
图片尺寸2560x1920
画电路图技巧
图片尺寸640x512
怎么用与非门实现或运算 同或运算 需要逻辑电路图
图片尺寸780x1040
数字电路实验一组合逻辑电路的设计预实验报告
图片尺寸2645x1538
写出图所示数字电路的逻辑函数表达式,并判断其功能
图片尺寸776x1296