避孕套手绘设计

在包中的素描避孕套
图片尺寸324x324
近日,一则关于"浙江一公司推酱香避孕套引争议"的新闻引起了广泛关注.
图片尺寸1148x1280
避孕套细线图标,情人节,保护橡胶标志,矢量图形,白色背景上的线性图案
图片尺寸1100x1100
避孕套卡通图片
图片尺寸300x300
彩铅画杜蕾斯安全套
图片尺寸690x920
避孕套和避孕
图片尺寸1100x1100
卡通快乐避孕套
图片尺寸1100x1149
避孕套彩铅画怎么画避孕套彩铅手绘教程安全套的画法
图片尺寸650x866
避孕套彩铅画怎么画避孕套彩铅手绘教程安全套的画法
图片尺寸650x866
矢量手绘避孕套
图片尺寸610x794
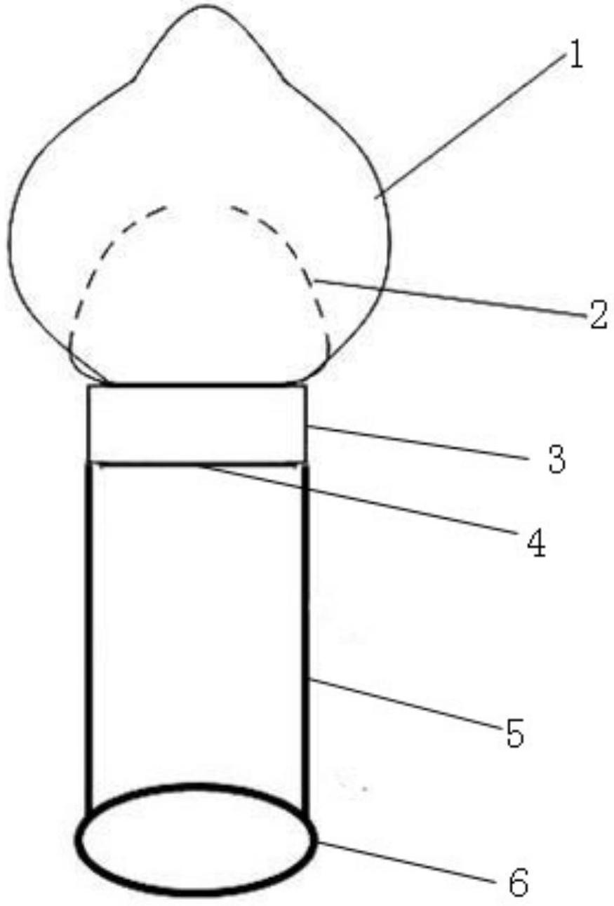
本实用新型属于性保健品领域具体而言涉及一种安全套
图片尺寸1000x909
手绘卡通避孕套绿色插画
图片尺寸329x330
d-花瓣网|陪你做生活的设计师 | 手绘卡通避孕套
图片尺寸400x400
改进型避孕套
图片尺寸875x1291
避孕套的轮廓图标
图片尺寸1100x1100
卡通手绘避孕套免抠透明素材
图片尺寸610x610
乳胶避孕套. 简单的平面矢量图标插图. 轮廓线符号可编辑笔画插画
图片尺寸300x300![关键词 : 手绘,设计,平面,避孕套卡通[声明] 觅元素所有素材为用户](https://i.ecywang.com/upload/1/img2.baidu.com/it/u=848835917,3565129919&fm=253&fmt=auto&app=138&f=JPEG?w=500&h=400)
关键词 : 手绘,设计,平面,避孕套卡通[声明] 觅元素所有素材为用户
图片尺寸500x400
避孕套创意海报简笔画
图片尺寸500x554
避孕套彩铅画怎么画避孕套彩铅手绘教程安全套的画法
图片尺寸650x866