醇提水沉法

水提醇沉法操作示意图
图片尺寸590x331
中除杂的技术与方法ppt 中药提取过程中除杂的技术与方法 水提醇沉法
图片尺寸1080x810
一般使用水 提醇沉或醇提水沉的工艺方法获得粗制品.
图片尺寸1080x810
醇提水沉 c.碱水提后
图片尺寸320x187
2500年历史 46年经验 给您一滴土油 爱家人 爱上水磨香油
图片尺寸710x710
一种从生物质出发采用1,4-丁二醇水溶液提取耦合酸沉淀制备纳米木质素
图片尺寸809x1000
醇沉,水沉控制
图片尺寸1393x1046
干货教你25轻熟龄肌纯露怎么选
图片尺寸1080x1440
水提醇沉法和醇提水沉法有什么区别
图片尺寸204x250
社会进步了,科技发达了,寿命变长了,相应地,疾病也提早了,于是,养生
图片尺寸1000x1008
五,中期青花使用云南省的"珠明料",这种青花色料提练精纯,由于水沉法
图片尺寸640x567
中药,天然药物的制剂成型工艺研究的技术评价要素ppt
图片尺寸1080x810
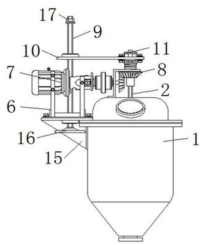
一种中药醇提水沉装置的调节机构-爱企查
图片尺寸665x799
工艺流程图 英文(工艺流程图英文缩写)
图片尺寸640x360
在醇生产过程中蒸馏醇的方法和系统与流程
图片尺寸846x1000
沉香木的水煮液和水煮醇沉液能抑制离体豚鼠回肠的自主收缩,朱砂吊坠
图片尺寸500x500
醇提复方中药在膜过滤中的应用
图片尺寸3024x4032
一种混醇提质方法与流程
图片尺寸1000x581
重庆市烟囱更换不锈平台爬梯服务放心可靠
图片尺寸1080x1440
cn103397201a_从杂卤石矿中静态溶浸提取钾以及制备硫酸钾的方法有效
图片尺寸785x1000