醒酒器简笔画

酒壶怎么画 - 简笔画 - 懂得
图片尺寸1280x720
酒壶怎么画 酒壶怎么画简笔画 酒壶的画法-养娃家
图片尺寸700x525
640622秦朝酒器模型秦朝酒器模型古代酒器简笔画古代酒器简笔画古代人
图片尺寸750x500
练习古风器物线稿之酒器一
图片尺寸1080x809
一种可过滤杂质的醒酒器-爱企查
图片尺寸660x800
酒壶怎么画 酒壶怎么画简笔画 酒壶的画法-养娃家
图片尺寸800x450
手绘风格黑边醒酒器
图片尺寸650x774
生活小工具之红酒开瓶器的画法教程
图片尺寸500x707
华富白酒分酒器带刻度 水晶红酒醒酒器 酒壶带把套装葡萄酒具家用
图片尺寸800x800
一种便携式醒酒器-爱企查
图片尺寸476x800
一种红葡萄酒醒酒器的制作方法
图片尺寸445x601
cn112274028a_一种醒酒器在审
图片尺寸1416x1480
实用新型一种醒酒器授权我要购买 申请号:cn201922313667.
图片尺寸400x539
圆球卡通矢量醒酒器
图片尺寸650x959
一种醒酒器-爱企查
图片尺寸520x799
孙悟空酒壶简笔画
图片尺寸500x388
一种醒酒器的制作方法
图片尺寸292x443
醒酒器(绝代佳丽郁金香)
图片尺寸432x1167
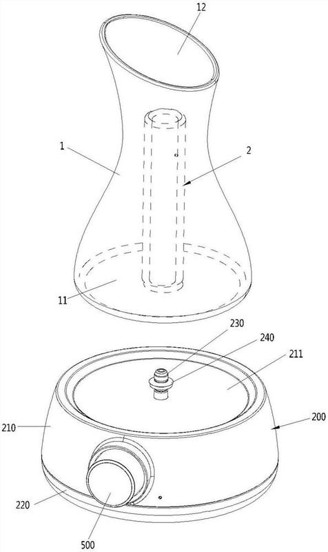
智能醒酒器及智能醒酒系统-爱企查
图片尺寸571x800
一种醒酒器
图片尺寸255x360