采棉机简笔画

采棉机-爱企查
图片尺寸1652x973
采棉机的简笔画
图片尺寸702x500
全自动采棉机
图片尺寸1764x2216
一种将风氢新能源作为动力装置的采棉机制造方法及图纸
图片尺寸1000x882
cn101461301a_采棉机有效
图片尺寸1556x1205
一种适用于大型采棉机的棉朵储存装置-爱企查
图片尺寸1653x1403
一种采棉机及其风机-爱企查
图片尺寸800x797
cn208029492u_一种新型的牵引式采棉机有效
图片尺寸1000x622
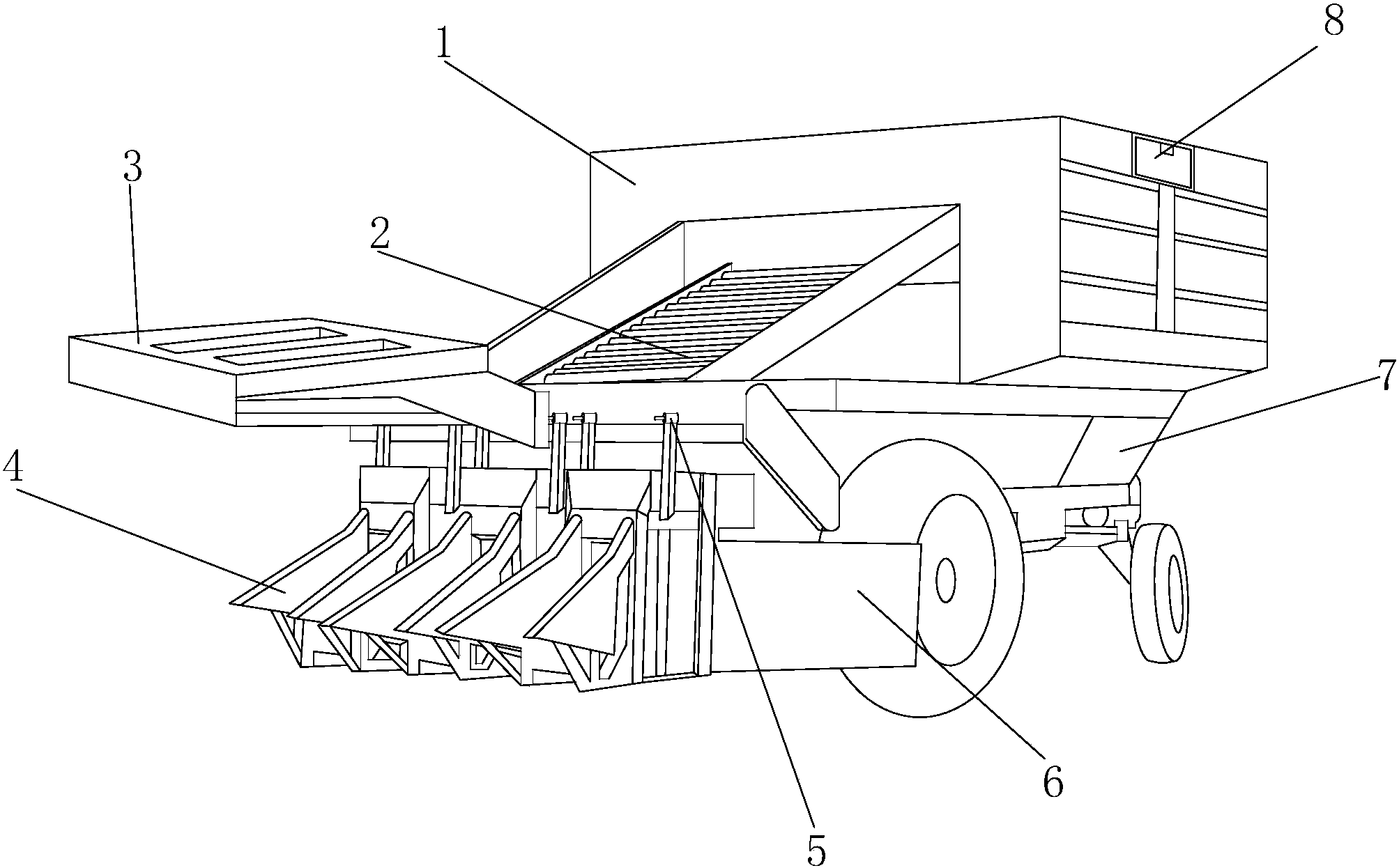
一种采棉机
图片尺寸1786x1151
手持式采棉机以其操作简便,劳动强度低,效率高,价格低等优点,深受棉农
图片尺寸444x241
采棉机
图片尺寸1080x810
一种采棉机制造技术
图片尺寸1000x645
cn2325965y_小型采棉机失效
图片尺寸962x653
一种采棉机的制作方法
图片尺寸1000x492
扒指采棉机-爱企查
图片尺寸456x240
cn103891472b_便携式采棉机失效
图片尺寸589x437
采棉机-爱企查
图片尺寸1961x1632
自走式伸缩脱棉采棉机制造技术
图片尺寸1000x723
一种便携手持式采棉装置的制作方法
图片尺寸1000x880
cn102550213a_一种手提式采棉机失效
图片尺寸2240x1456