采气井口结构图

抗硫采油(气)井口装置培训教材
图片尺寸679x739
采气工程-气井生产系统分析
图片尺寸1080x810
抗硫采气井口装置-汇报ppt
图片尺寸1080x810
kq65抗硫采气井口装置
图片尺寸732x1032
一种超高压超高温高抗硫hh级采气井口装置的制作方法
图片尺寸780x1000
一种气井井下气液分采装置
图片尺寸844x1000
kq65抗硫采气井口装置
图片尺寸732x1058
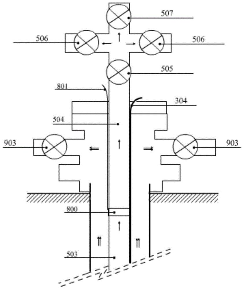
一种采气井口装置及采气井的制作方法
图片尺寸376x444
采气井口装置及采气井的制作方法
图片尺寸600x674
一种气井井下气液分采装置的制作方法
图片尺寸844x1000
一种超高压压裂采气井口的制作方法
图片尺寸945x1000
cn112031695a_采气井口装置及采气井在审
图片尺寸600x674
一种井下管线采气井口装置
图片尺寸253x360
气井的井口装置
图片尺寸812x554
天然气井口远程智能开关控制装置制造方法及图纸
图片尺寸1000x637
你可能喜欢 采油井口装置 采气井口装置 井口装置及采油树 井身结构
图片尺寸1080x810
具有防护功能的采气井口的制作方法
图片尺寸443x379
cn101225741b_整体井筒压入式地下储气井的建井方法失效
图片尺寸2315x2804
不压井可更换部件的天然气采气井口装置的制作方法
图片尺寸521x359
抗硫采油(气)井口装置ppt
图片尺寸1080x810