采矿机简笔画

石油开采机
图片尺寸1200x817
扛着锄头大纲样式中的钻井机图标孤立矢量说明钻井机图标大纲插画
图片尺寸300x300
挖掘机儿童创意画(附线稿) #画画的日常# #简笔画# #画画的日常
图片尺寸1810x1280
石油开采钻机行业孤立标志
图片尺寸996x1200
挖机简笔画
图片尺寸800x450
锄土机简笔画
图片尺寸500x630
简单简笔画中国石油
图片尺寸499x470
石油钻机
图片尺寸450x450
矿用挖掘机
图片尺寸1689x1523
采油机简笔画
图片尺寸450x354
挖掘机简笔画
图片尺寸1080x1920
挖掘机儿童创意画(附线稿) #画画的日常# #简笔画# #画画的日常
图片尺寸1811x1280
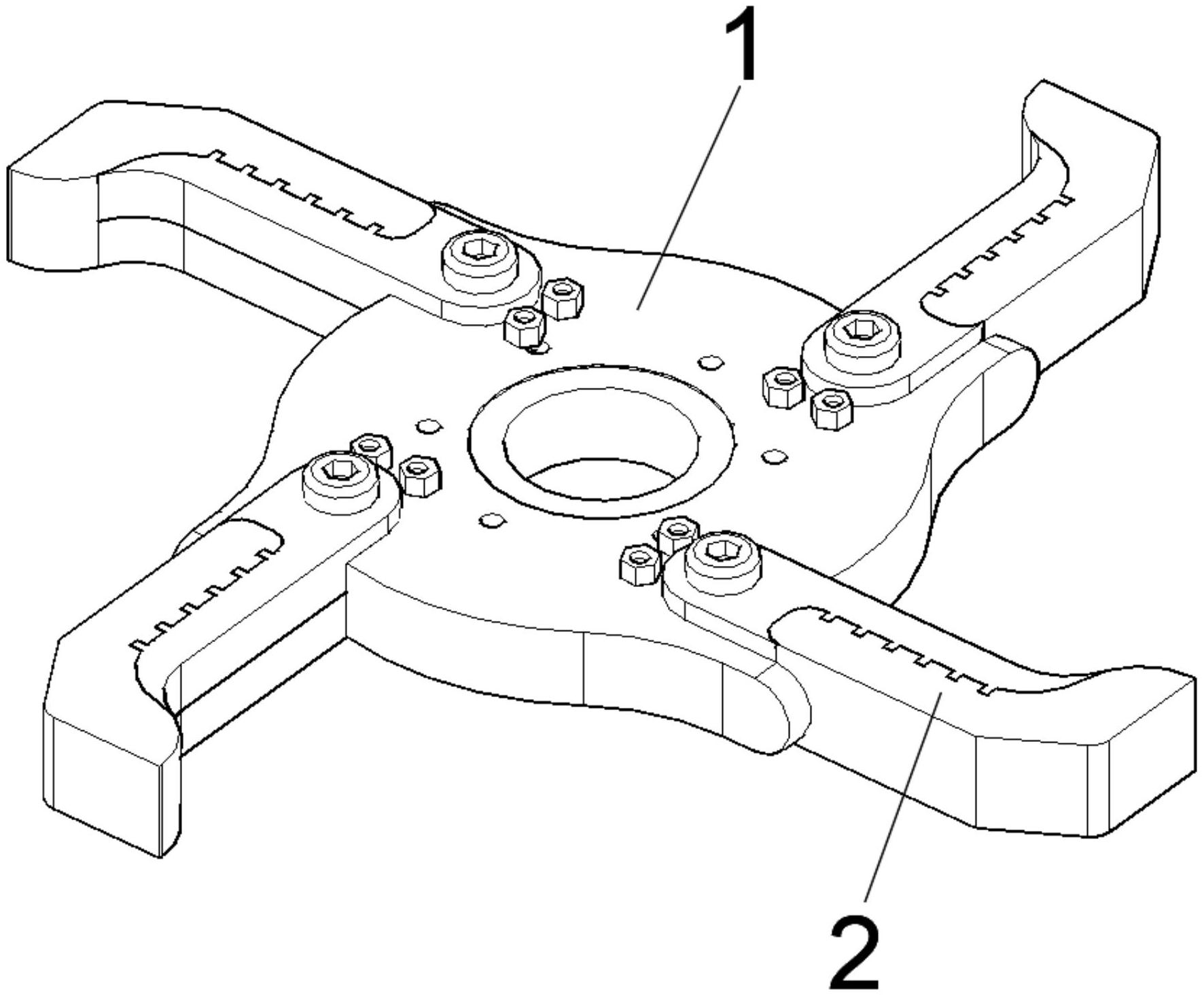
一种倾斜头部连续采矿机-爱企查
图片尺寸1772x1466
挖掘机简笔画学画的
图片尺寸668x500
黑白挖掘工具和元素插画-正版商用图片15eugf-摄图新视界
图片尺寸700x700
cn101382041a_挖掘机型式钻机失效
图片尺寸2057x1457
土层或岩石的钻进采矿的设备制造及其应用技术
图片尺寸1000x430
我图标图片-我图标素材-我图标插画-摄图新视界
图片尺寸300x300
一种用于采矿工程的智能采矿机器人
图片尺寸1256x592
挖土机简笔画
图片尺寸800x600