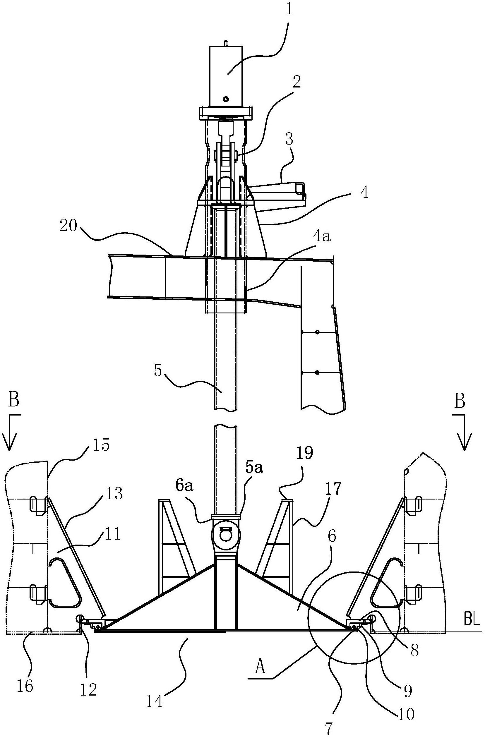
采砂船结构图

海底粉碎砂石采砂船的制作方法
图片尺寸1000x372
采砂船 采沙机械专业制造厂家
图片尺寸600x308
定做优质采砂船.采砂设备13791659199商品大图
图片尺寸1024x707
淘金船
图片尺寸730x497
兰西大型采砂船价格
图片尺寸700x433
散货船结构图
图片尺寸820x576
贵州淘金挖沙船视频丨挖沙船图片-挖沙船生产厂家(在线咨询)
图片尺寸700x538
挖沙船,采沙机械,采砂船,挖沙机械,挖沙机.图片_6
图片尺寸680x510
结构简单,挖沙船,运行稳定2,购买挖沙船的投资成本和后期效益的回收.
图片尺寸395x220
采沙船
图片尺寸1734x1102
河道选金机器 链斗式挖沙采砂船 挖斗式淘金船 青州科大供应
图片尺寸270x270
挖沙船厂家,毕节挖沙船,青州永生
图片尺寸700x525
变频器助力采砂船完成电气控制自动化
图片尺寸650x429
长江上现"隐形采砂船":有专人盯梢 实时通风报信|魏成|采砂船|非法
图片尺寸800x530
采砂船
图片尺寸600x400
钢管式采砂船多功能采砂船(图)
图片尺寸1000x666
科力机械制造挖泥船,清淤船
图片尺寸567x425
鑫博制造挖沙船结构图
图片尺寸488x223
液压采砂船供应-青州启航疏浚-采砂船
图片尺寸700x700
硬河床开采机械/联谊矿沙机械/小型采砂船/硬河床开采机械
图片尺寸240x180