重锤安装示意图

在重锤重力的作用下处于闭合状态,当吊钩上升限位器失效时,吊钩会继续
图片尺寸428x354
高压输电线路引流线重锤安装都有相应的配套金具,图中左边为单根或两
图片尺寸1351x487
悬重锤及其附件
图片尺寸343x508
重锤式上升到顶限位器限制器
图片尺寸426x709
sddc 法施工自动脱钩新技术 为了消除人工拉绳使重锤脱钩这
图片尺寸248x378
一种柔性重锤缓冲装置的制作方法
图片尺寸607x597
重锤式电缆卷筒是配重式机械原理牵引
图片尺寸500x431
沧州宏圣吊篮厂
图片尺寸300x300
cn208791007u_一种曳引式电梯层门配重锤有效
图片尺寸836x1000![[分享]气动隔膜泵工作原理资料下载](https://i.ecywang.com/upload/1/img2.baidu.com/it/u=3445359746,2030006957&fm=253&fmt=auto&app=138&f=JPEG?w=673&h=500)
[分享]气动隔膜泵工作原理资料下载
图片尺寸707x525
调整圆形振动筛电机上下重锤的作用和方法介绍
图片尺寸449x302
大重dzlx-b型托板防冲顶限位器 替代重锤限位开关 适用于电动葫芦行车
图片尺寸1200x900
重锤限位器一种由装在电动葫芦卷扬外壳侧面的
图片尺寸482x249
开关盒尽量垂直于重锤安装,以防止在大风天气或者钢丝绳绳斜拉的
图片尺寸750x800
断火式,重锤式,压板式这三种高度限位器一般安装在吊钩运动极限附近
图片尺寸518x214
cn202642711u_一种新型垂直重锤拉紧装置有效
图片尺寸528x872
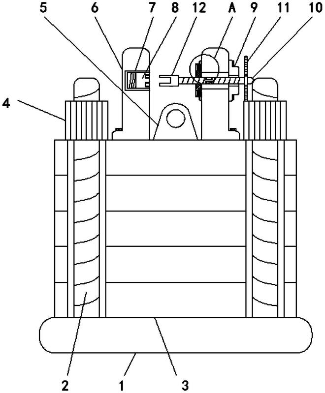
且公开了一种基桩叠片式高应变检测重锤,包括安装底座,所述安装底座的
图片尺寸660x799
有限,重块的重量不会太大,所以重锤式张紧只适用于张力不大的输送机
图片尺寸513x200
装设有不同形式(一般为重锤式和旋转式并用)的上升极限位置的双重限位
图片尺寸494x593
二手精品:新高耐1310重锤破,安装少用,内部磨损小,破碎机 - 抖音
图片尺寸1080x1440