金箍平面图

卡通手绘 i>孙 /i> i>悟 /i> i>空 /i>头饰金箍圈线条插画矢量装饰
图片尺寸324x432
求购 采购抱箍
图片尺寸2550x4200
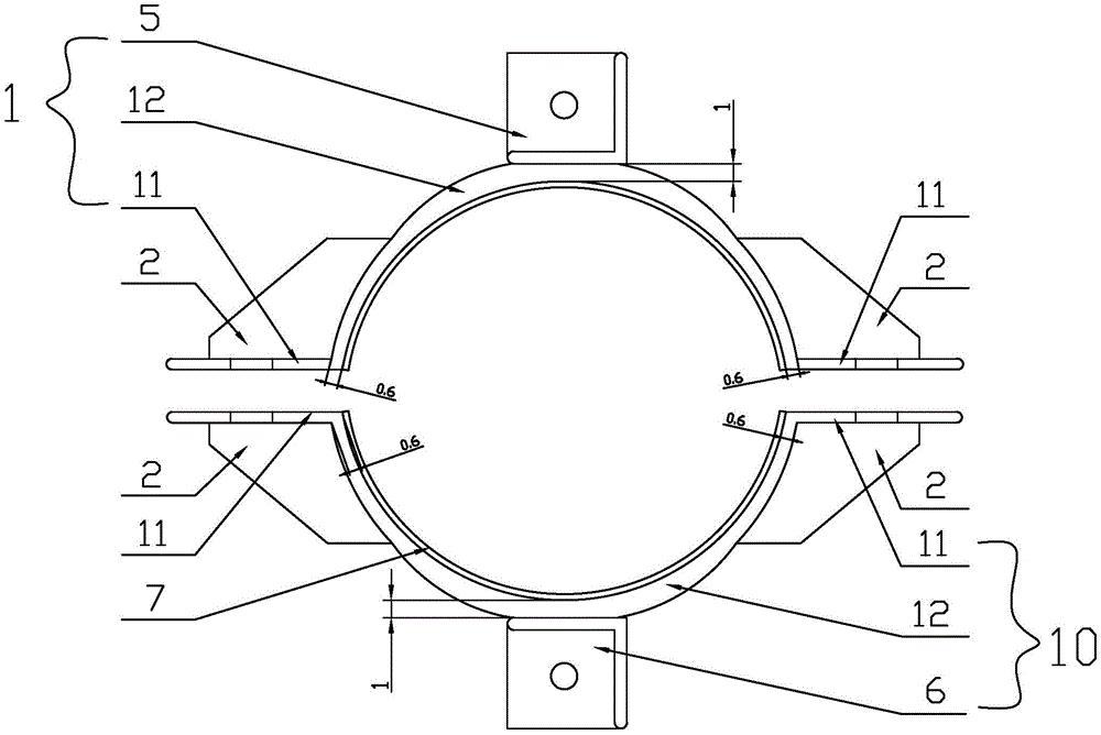
cn209800442u_一种高强度抱箍有效
图片尺寸967x1000
抱箍大样图.jpg
图片尺寸760x570
重型卡箍图纸
图片尺寸732x515
cn203627439u_一种抱箍有效
图片尺寸1000x431
五金零部件,配件,备品备件 紧固件和连接件 抱箍,卡箍 厂家直供大美式
图片尺寸1024x533
抱箍60cad图纸dwg图纸
图片尺寸545x716
一种直线双顶抱箍
图片尺寸1000x668
三肢箍箍筋三肢箍
图片尺寸400x356
喉箍
图片尺寸950x567
箍筋
图片尺寸933x701
齐天大圣孙悟空金箍
图片尺寸260x200
柱子写着六肢箍怎么布置
图片尺寸566x537
卡通手绘孙悟空头饰金箍圈线条插画矢量装饰
图片尺寸320x320
金箍简约边框
图片尺寸650x651
金箍咒的简笔画
图片尺寸500x405
五金零部件,配件,备品备件 紧固件和连接件 抱箍,卡箍 不锈钢304fsae
图片尺寸700x466
金箍 i>棒 /i> 设计元素
图片尺寸324x432
金箍棒展开图
图片尺寸265x315