针的结构图

针头 构造:针尖,针梗,针栓 型号:4.5 5, 5.5, 6, 6.5 7, 8, 9.
图片尺寸1080x810
下图为bd留置针两种不同型号在穿刺前和穿刺后的结构介绍.
图片尺寸560x441
cn107874798a_引线穿刺针在审
图片尺寸1584x2642
针织入门知识——纬编
图片尺寸693x423
新型静脉输液方式静脉留置针
图片尺寸621x401
留置针穿刺进针回血好好的,为什么一退针芯就鼓包?
图片尺寸1080x1323
什么是静脉留置针?
图片尺寸502x404
一种动静脉血采血针
图片尺寸658x1029
一种安全针结构制造技术
图片尺寸902x585
静脉留置针操作规范全流程案例.doc
图片尺寸792x560
一种可提醒的针灸针的制作方法
图片尺寸1000x999
针头的结构:针尖,针梗,针栓
图片尺寸1080x810
一种安全式采血针结构
图片尺寸340x360
一种改良式采血针的制作方法
图片尺寸1000x626
一种一次性使用内窥镜用注射针-爱企查
图片尺寸975x1324
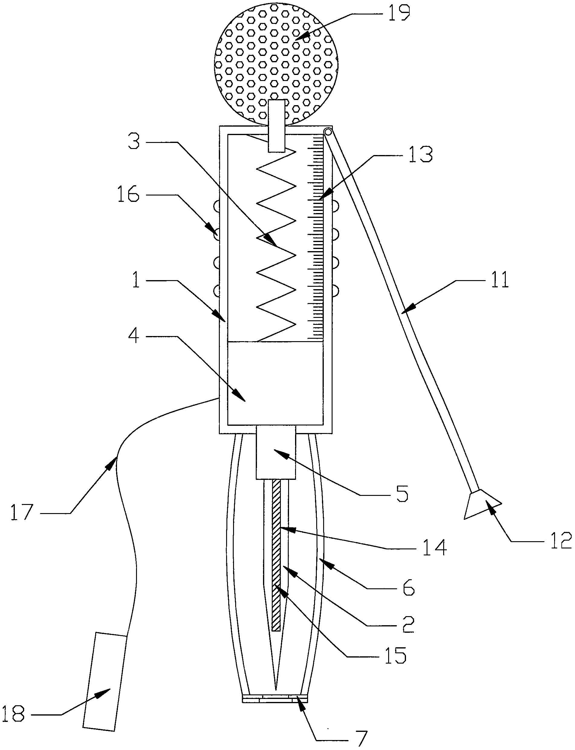
包括针柄和针体,所述针柄内部为中空结构,针柄内部设有弹簧,弹簧一端
图片尺寸1902x2482
其特征在于,包括针柄,针尖和针体;所述针体为中空结构,所述针尖位于针
图片尺寸1000x424
cn208130030u_一种磁致伸缩方向可调节式穿刺针结构有效
图片尺寸1826x656
一次性使用麻醉用针
图片尺寸750x547
cn101378798a_带有修正药物连接的安全针头组件有效
图片尺寸2210x1539