针阀偶件

man b&w s60mc-c 针阀偶件
图片尺寸820x1460
针阀偶件
图片尺寸500x500
铁路机车配件针阀偶件 东风4东风5东风7东风8机车针阀偶件
图片尺寸488x297
针阀偶件
图片尺寸750x750
sulzer rta58,rta62,rta76针阀偶件,雾化头
图片尺寸640x440
wartsila针阀偶件,rta84t
图片尺寸1920x1440
精密偶件
图片尺寸500x399
s42mc针阀偶件
图片尺寸301x226
针阀偶件
图片尺寸645x752
多锥面针阀偶件
图片尺寸1288x2457
手动针阀14管卡套
图片尺寸685x800
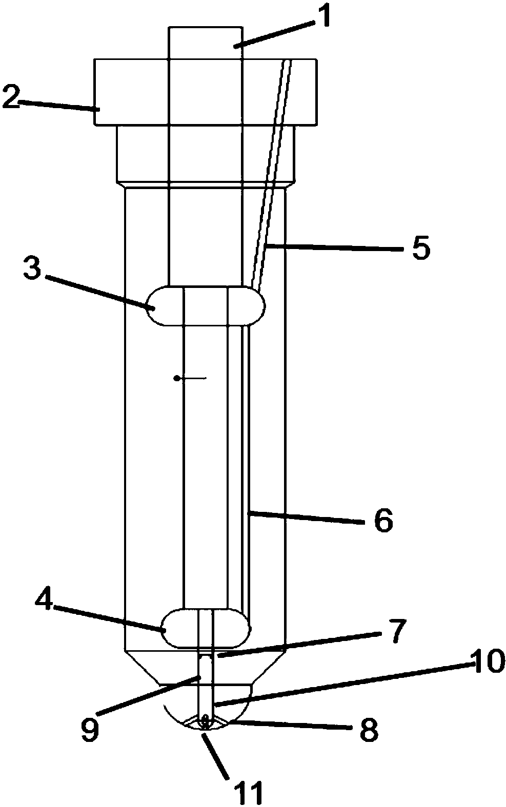
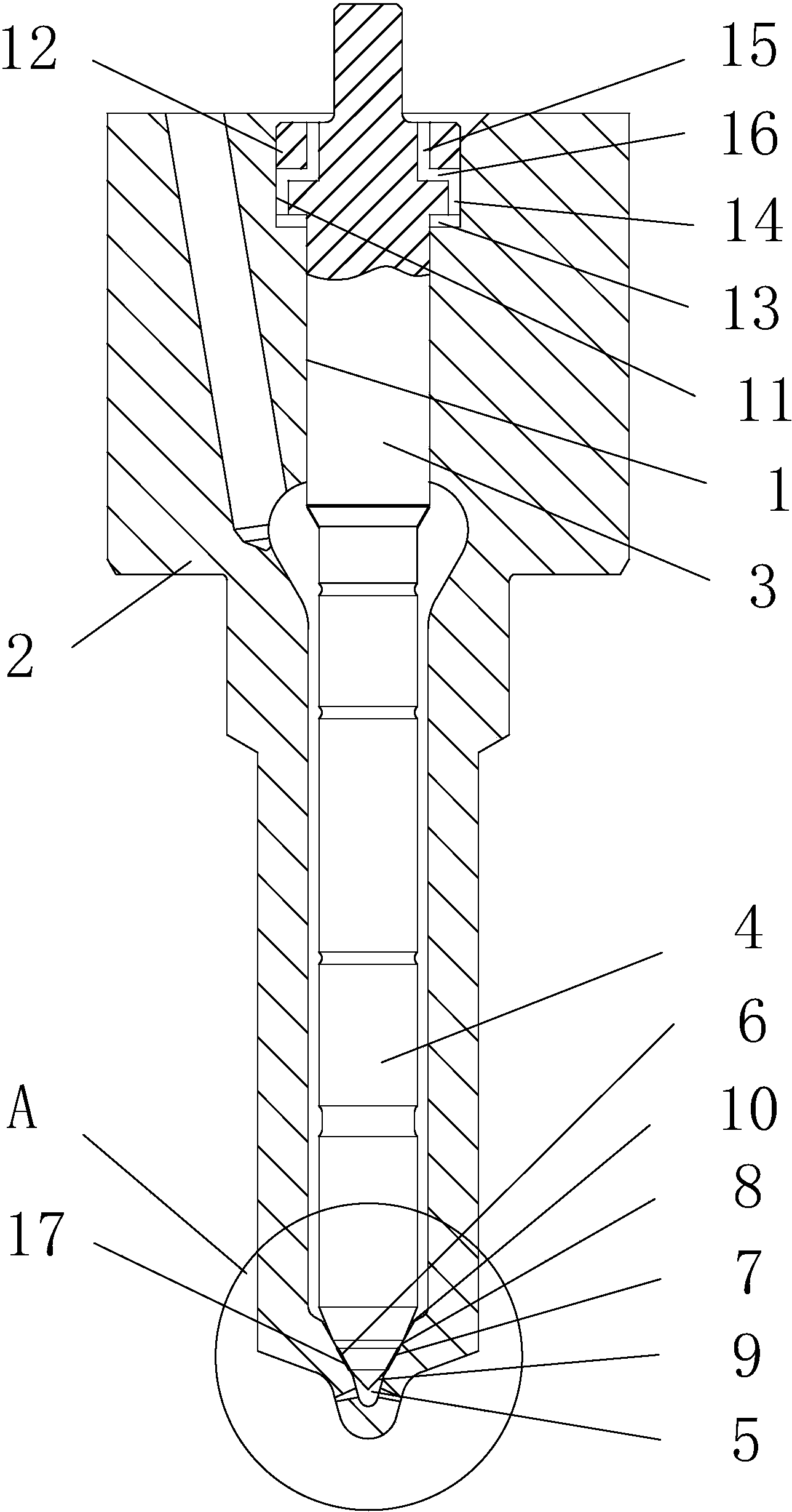
cn108626049a_低速机双油腔针阀偶件在审
图片尺寸987x1575
4种skvbnk不锈钢管用针阀模型
图片尺寸773x536
手动针阀lf915000psi
图片尺寸820x508
高压针阀选型与使用说明
图片尺寸680x486
供应淄博淄柴6210船用柴油机主机轻油针阀偶件do150t935
图片尺寸532x710
针阀
图片尺寸1200x1397
针阀
图片尺寸920x690
wartsila针阀偶件,rta84t
图片尺寸1577x944
氮测喷油嘴的针型阀偶件径部密封性试验台
图片尺寸715x461