钓箱结构图

一种单层钓鱼箱的改进结构的制作方法
图片尺寸2179x2382
这么一款配件功能齐全,一箱多用的钓箱,你怎能不想把他噶带回家
图片尺寸2901x3868
背景技术:钓鱼箱又称为钓箱,主要功能就是保冷,可以当凳子坐,放渔具
图片尺寸1000x924
小凤仙29l钓箱全套钓鱼箱带靠背轮子多功能轻小钓箱加厚路亚钓箱
图片尺寸2480x3840
十大品牌钓箱
图片尺寸750x855
恒冠新款多功能海钓箱070/071台钓箱矶钓冰箱鱼箱插杆箱活鱼箱
图片尺寸790x1104
商标logo
图片尺寸1442x1490
化氏32l钓箱大揭底,从此跋山涉水无压力
图片尺寸640x992
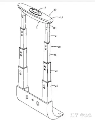
拉杆箱的拉杆原理是什么怎么上面按一下就可以推进去了想要有一个图解
图片尺寸315x403
图片尺寸1242x1660
连球2022新款钓箱全套40l升大容量钓鱼箱超轻台钓箱多功能免安装
图片尺寸750x1000
野钓升级款钓箱配件.铝镁合金轻量化,高强度,钓箱五件套#钓鱼
图片尺寸1440x1924
牧马人新款四脚升降多功能钓鱼箱台钓箱渔具带伞架垂钓用品钓鱼桶
图片尺寸790x959
钓箱配件安装全攻略:轻松搞定每一步
图片尺寸1440x1890
一味nex钓箱,安装灵犀x5亮银304不锈钢拐角六件套!竞技
图片尺寸1920x2556
小凤仙29l钓箱全套钓鱼箱带靠背轮子多功能轻小钓箱加厚路亚钓箱
图片尺寸2480x3840
自制钓箱.#钓箱 网上带三件套的钓箱少说两百了,所以自己动手
图片尺寸1920x1440
钓箱配件丰富,新手必看!
图片尺寸720x960
钓箱坐垫适配望海钓箱坐垫适配开天斧钓箱坐垫新
图片尺寸800x800
背景技术:1,传统的钓箱或钓鱼桶主要有如下几部分功能,即盛装钓鱼用
图片尺寸1933x1448