钢丝校直器原理

s6问题科普贴
图片尺寸506x489
矫直机传动
图片尺寸516x577
离心式滚轮钢丝矫直机
图片尺寸718x398
cn101856702a_一种新型铁丝自动校直机失效
图片尺寸1537x1269
08 _ 08 图片_百度百科
图片尺寸758x410
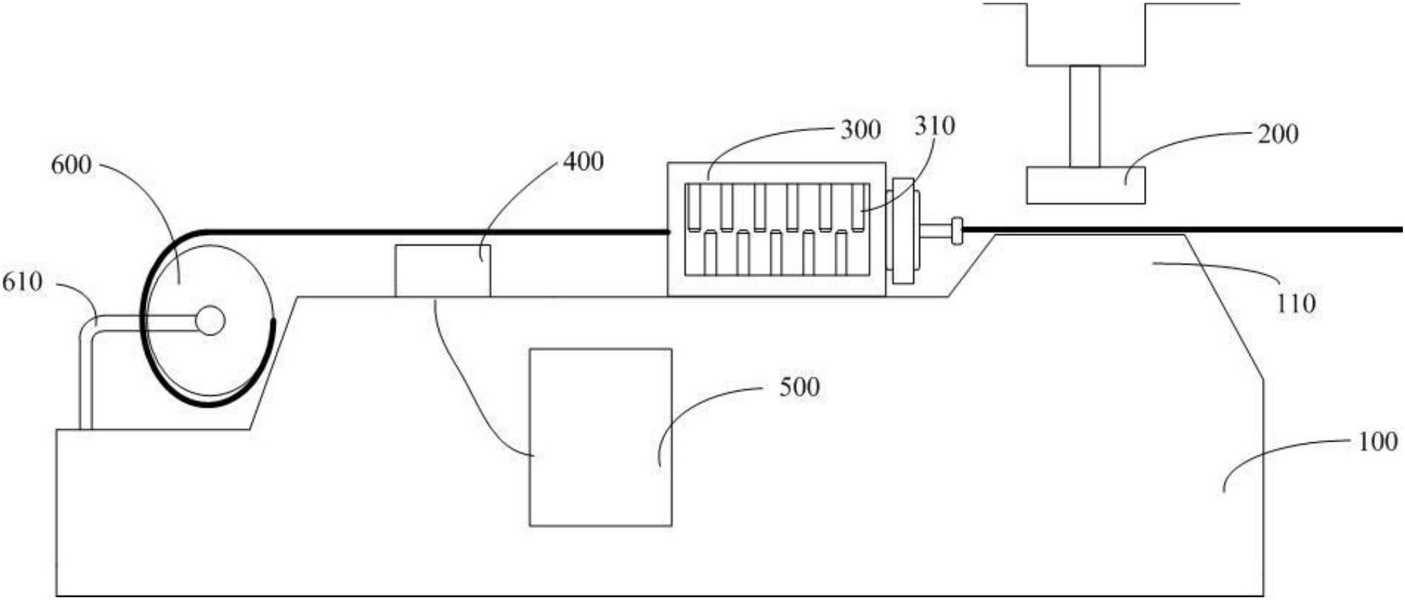
cn101829744a_一种新型钢筋自动校直机失效
图片尺寸1521x1244
钢丝探伤校直装置-爱企查
图片尺寸2014x860
题目详情
图片尺寸523x203
校直机构 #矫直器 #校直机厂家 #钢丝调直 - 抖音
图片尺寸1276x1702
一种滚轮位置可调的校直机的制作方法
图片尺寸1000x905
cn2040012u_滚轮式盘圆钢校直机失效
图片尺寸2368x2496
斜辊矫直机
图片尺寸1492x1561
钢丝绳校直机,客户反馈图片! - 抖音
图片尺寸1080x1440
校直器矫直器钢丝校直器系列窗帘线校直器系列气保焊丝校直器
图片尺寸405x314
cn213378993u_钢丝绳矫直机有效
图片尺寸2160x1141
cn101856674a_直进式拉丝机上的出线校直夹丝装置失效
图片尺寸2239x1331
一种钢板校平机的制作方法
图片尺寸1000x795
宝钢5m厚板冷矫直机调试的问题分析及对策
图片尺寸1213x566
一组手摇胶轮牵引校直器.一组手摇胶轮牵引校直器 ,3-6mm - 抖音
图片尺寸1000x1334
钢丝校直器
图片尺寸820x526