钢丝绳加油装置图片

矿用钢丝绳注油机
图片尺寸768x1024
单股钢丝绳涂油器厂家直销钢筋润滑设备平移式钢丝绳涂油器多少钱
图片尺寸750x750
电动式钢丝绳涂油系统
图片尺寸1870x1400
宜昌温度监测加油规格
图片尺寸642x642
钢丝绳注油机.钢丝绳注油机,扬州瑞之文电气有限公司专业生产, - 抖音
图片尺寸902x1920
钢索注油器
图片尺寸800x800
气动式钢丝绳涂油系统
图片尺寸1440x1080
钢丝绳注油机
图片尺寸1080x1080
洛阳钢丝绳注油脂机 钢丝绳加油机
图片尺寸768x1024
供应洛阳钢丝绳注油脂机 钢丝绳加油机_洛阳鹏龙矿山机械有限公司
图片尺寸768x1024
对于这种落后的加油方式,我们可以改用自动加脂系统,如威润玛钢丝绳加
图片尺寸493x400
电梯钢丝绳清洗装置钢丝绳油泥清洁装置 保养油 油污去除-阿里巴巴
图片尺寸360x360
塔架式抽油机钢丝绳加油装置-爱企查
图片尺寸1273x1829
钢丝绳注油机
图片尺寸704x704
分钟左右就全部打完整台扒渣机的加油点,轻松不要用力,有气动压力
图片尺寸977x747
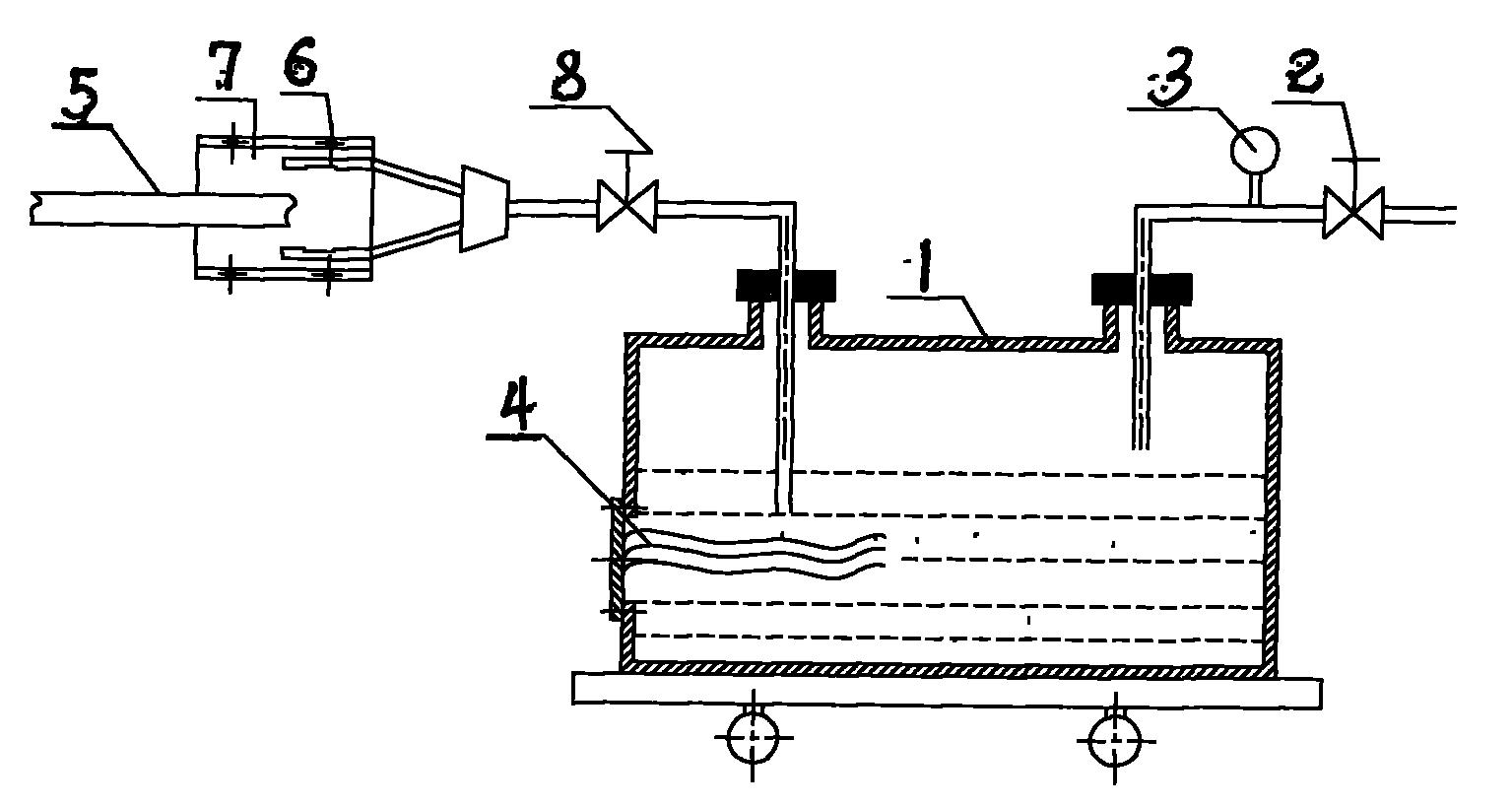
cn201404874y_压风喷雾式钢丝绳加油装置有效
图片尺寸1535x819
河南诚德监理吕明明】中国石油咸阳永寿永德信加油站防渗改造
图片尺寸2000x2667
一种电梯钢丝绳涂油装置-爱企查
图片尺寸1628x761
一种煤矿提升机用的钢丝绳加油装置的制作方法
图片尺寸698x1000
一种钢丝绳加油装置的制作方法
图片尺寸1000x731