钢丝绳平衡梁滑靴

平衡梁超声波滑靴
图片尺寸500x500
摊铺机平衡梁滑靴 abg 沃尔沃戴纳派克徐工三一摊铺机平衡梁滑靴
图片尺寸1080x810
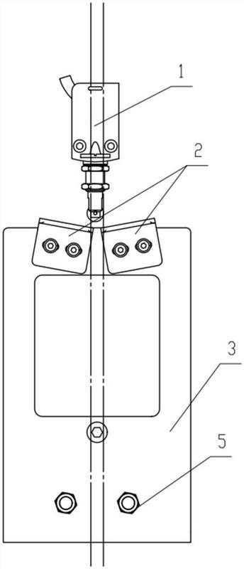
摊铺机moba摩巴36束平衡梁滑靴探头安装图
图片尺寸1600x1067
徐工 戴纳派克 宝马格摊铺机平衡梁 36束平衡梁 主控器超声波滑靴
图片尺寸800x800
滑靴工程机械配件供应摊铺机铺油控制大臂用起吊平衡梁配件批发
图片尺寸800x800
要统一标准,原则上盘圆取消平衡梁作业,圆钢采取钢丝绳作业
图片尺寸680x782
内蒙平衡梁探头
图片尺寸500x376
超声波非接触平衡梁
图片尺寸2592x1944
40-200t自平衡架桥机租赁
图片尺寸800x600
手拉葫芦吊葫芦手动国标g80锰钢链条倒链起重机不卡链顺滑轻型06
图片尺寸750x750
它包括千斤顶,平衡梁,钢丝绳,夹板,锚具,本实用新型所述光伏柔性支架
图片尺寸800x332
钢可调摊铺机平衡梁
图片尺寸750x750
平衡梁
图片尺寸1280x960
所述触发板安装座固定安装在起重机小车的平衡梁腹板上
图片尺寸344x800
直销三一dtu90摊铺机平衡梁探头专柜正品
图片尺寸300x390
摊铺机平衡梁价格
图片尺寸800x587
爱民吊网,爱民钢丝绳吊索具,引纸绳,爱民钢卷吊具,平衡梁吊具,起重
图片尺寸600x294
包括平衡梁主体,所述平衡梁主体的两端分别设有钢丝绳导向防脱结构
图片尺寸872x800
平衡梁吊具扁担梁
图片尺寸1280x856
多跨距吊装平衡梁介绍
图片尺寸542x644