钢丝绳连接装置

卸扣 钢丝绳夹头 钢丝绳连接器种类
图片尺寸400x400
力邦索具供应钢丝绳快速连接器钢丝绳连接器定制
图片尺寸800x800
力邦索具供应钢丝绳快速连接器钢丝绳连接器定制
图片尺寸460x460
钢丝绳连接
图片尺寸798x1200
原来钢丝绳这样连接才是最牢固的,我还是头一次见,很实用
图片尺寸1138x640
横锻花兰钢丝绳索具连接扣螺丝船用固定连接器
图片尺寸1080x1440
医疗器械机器设备限位健身器材压制不锈钢钢丝绳端子加工拉索吊线
图片尺寸1920x1920
钢丝绳快速连接器
图片尺寸1024x768
钢丝绳连接装置-爱企查
图片尺寸502x799
钢丝绳快速连接器钢丝绳用套环楔形接头系列
图片尺寸600x552
聚仁确定点连接件攀岩钢缆锚点野营探险钢丝绳连接钢索锚点连接装置
图片尺寸800x800
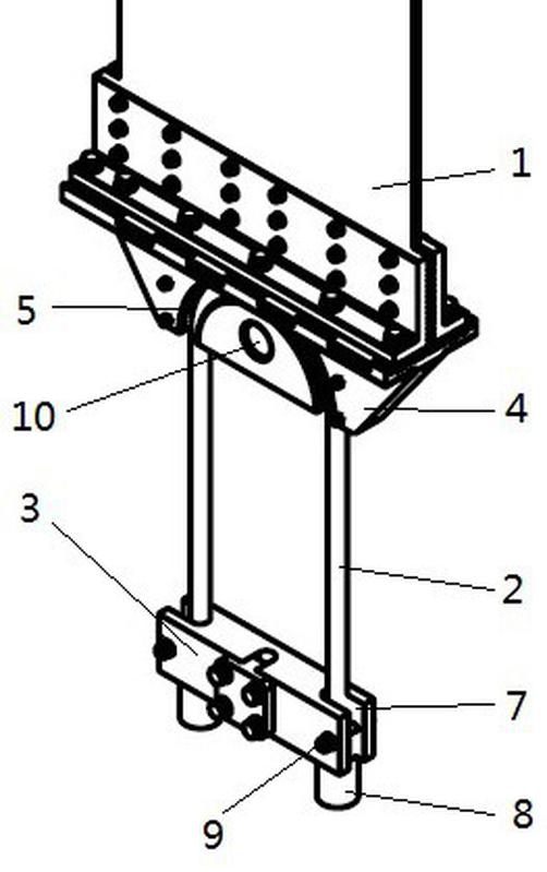
吊钩在上限位时卷筒上的钢丝绳
图片尺寸2080x1560
供应钢丝绳索具,不锈钢吊线,天花吊绳,灯
图片尺寸800x600
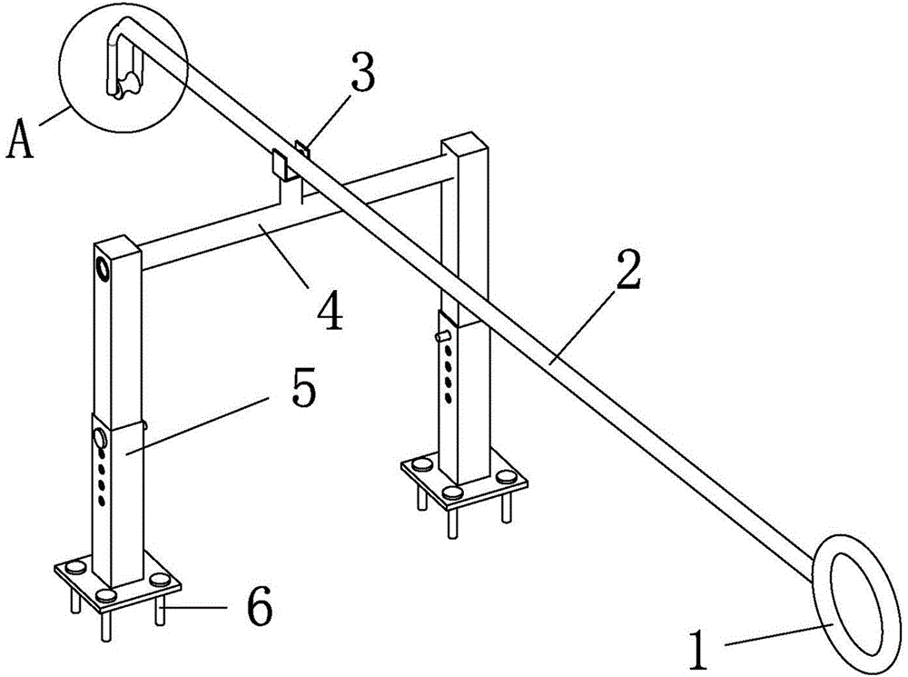
本实用新型涉及一种钢丝绳导向机构,属于立体车库提升装置技术领域
图片尺寸944x1200
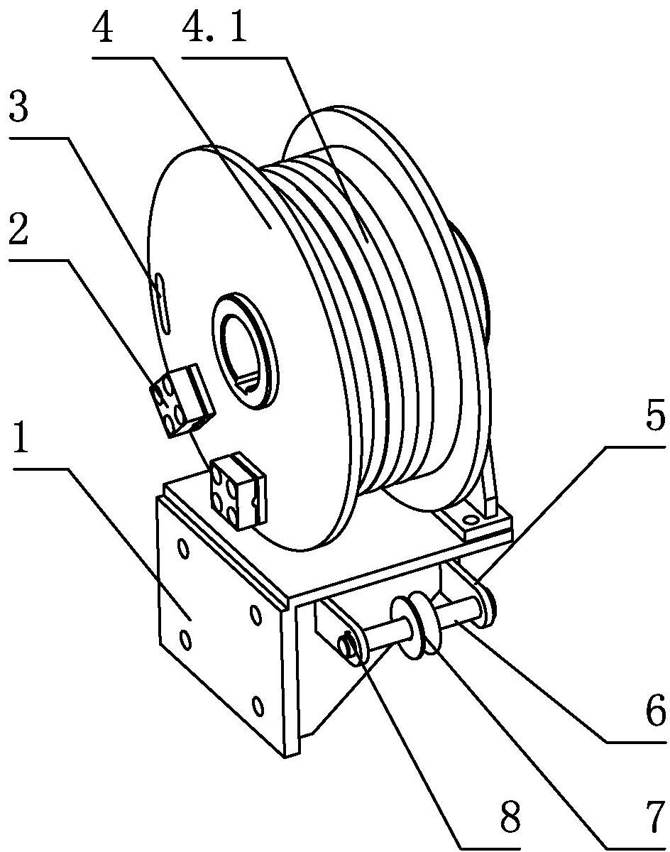
一种绞车钢丝绳排绳装置
图片尺寸1000x745
钢丝绳卡扣是由钢丝绳和卡扣组成的一种连接装置,广泛应用于吊装,拖曳
图片尺寸640x551
斜巷提升钢丝绳与提升容器连接装置(简称钩头)有三种形式:卡子型,插接
图片尺寸800x776
一种电梯曳引钢丝绳放缆器-爱企查
图片尺寸799x778
防爆电动葫芦导绳器 1t2t3t5t10t16t钢丝绳 防爆免拆绳导绳器
图片尺寸800x800
绳芯的六股钢丝绳手工插编制作装有套环的钢丝绳连接装置(俗称钩头)
图片尺寸313x236