钢塑复合管结构

钢丝骨架塑料复合管
图片尺寸800x494
psp钢塑复合压力管 全新料 dn20-dn200 2.50
图片尺寸500x409
钢丝网骨架塑料复合管
图片尺寸800x632
psp钢塑复合压力管 全新料 dn20-dn200 2.50
图片尺寸500x409
强酸环境下使用psp钢塑复合管存在的优势
图片尺寸500x375
四川鑫多联,厂家专业生产销售psp钢塑复合压力管,四川管业厂家_商城
图片尺寸540x385
一种钢塑复合管的接头密封结构的制作方法
图片尺寸1000x475
cn101672396a_一种钢丝骨架塑料复合管连接方法及该方法中的90度翻边
图片尺寸1945x1094
钢塑复合管
图片尺寸713x798
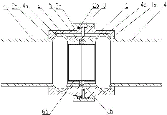
一种钢塑复合管的间隙可调接头密封结构的制作方法
图片尺寸1000x466
基于管口翻边的钢塑复合管连接结构
图片尺寸440x360
钢塑复合压力管,衬塑钢管接口特点及分析
图片尺寸697x218
cn101417505a_一种pe塑料管与pe钢丝网骨架塑料复合管的连接方法有效
图片尺寸1568x1377
钢塑复合压力管接口特点
图片尺寸874x788
钢塑转换连接法:规格型号安装现场产品特点钢骨架增强聚乙烯复合管
图片尺寸830x690
螺套式钢塑复合管内胀连接结构
图片尺寸567x391
批发内外涂塑复合管 镀锌钢塑复合管 钢塑给水复合管 衬塑钢管
图片尺寸600x451
pe全新料钢丝网骨架聚乙烯塑料复合管消防外网pe管
图片尺寸800x800
钢丝网骨架塑料复合管结构图
图片尺寸995x675
钢丝网骨架塑料复合管制造技术
图片尺寸1420x1446