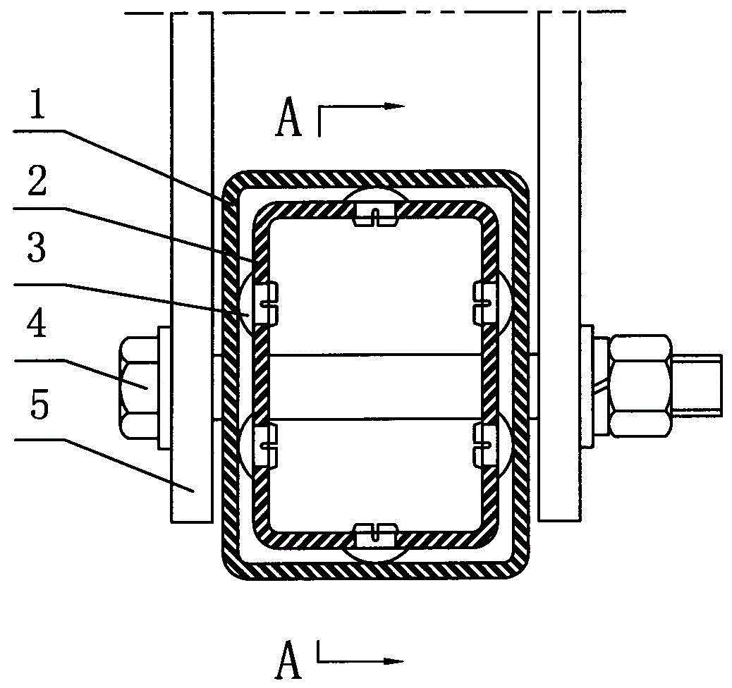
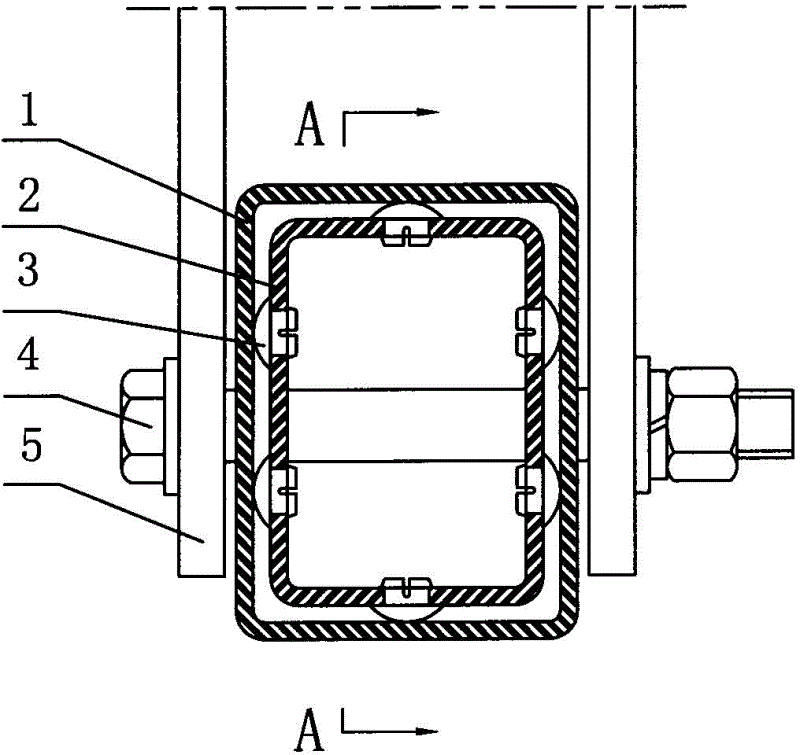
钢插芯

猜你喜欢:钢插芯图片幕墙立柱插芯幕墙钢插芯插芯插芯门锁陶瓷插芯幕墙插芯龙骨插芯插芯锁三环陶瓷插芯光纤陶瓷插芯幕墙立柱插芯图解南京依维柯改装有源音箱输入线接线图丹凤琴鸡瓜花三年级下册第三课荷花帆船俱乐部l3g发动机百科古风元素的手抄报冯森角色方格画元气骑士 刺客布朗熊风衣头像加皇冠康迪简历