钢栈桥结构详解

钢栈桥计算书(excel版)
图片尺寸730x610
重载型贝雷梁钢栈桥和钢平台结构研究与方案设计
图片尺寸828x1170
321贝雷钢栈桥专项施工方案(27页 附计算书)
图片尺寸560x481![[厦门]公路大桥钢栈桥结构计算书](https://i.ecywang.com/upload/1/img2.baidu.com/it/u=4189349551,1966095964&fm=253&fmt=auto&app=138&f=JPEG?w=500&h=390)
[厦门]公路大桥钢栈桥结构计算书
图片尺寸560x437
一种钢栈桥施工设施制造技术
图片尺寸1000x906
某粉煤灰输送栈桥钢结构节点构造详图
图片尺寸902x636
临时结构设计标准栈桥及计算书
图片尺寸777x484
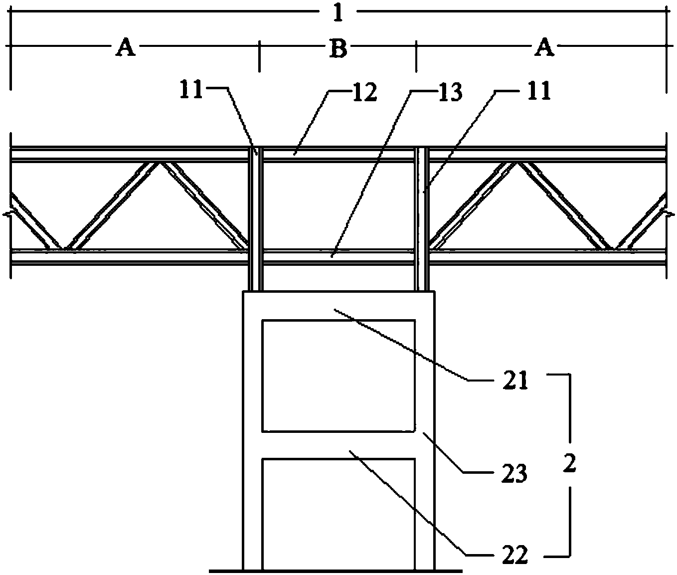
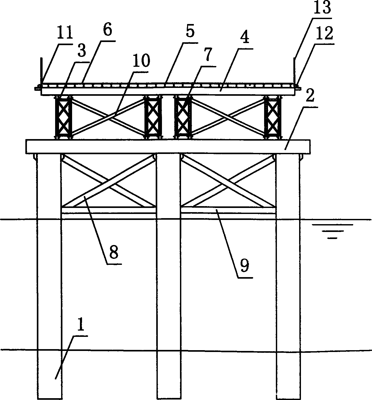
本实用新型提供了一种栈桥结构,包括:钢管桩,横梁,钢平台和加筋板,所
图片尺寸1404x1172
乐清湾大桥1600m钢栈桥施工技术(附图)
图片尺寸566x444
钢结构输煤栈桥设计计算和构造措施
图片尺寸996x887
工地现场便道用贝雷架型式钢栈桥基本设计样式及一般参数可下载
图片尺寸946x379
龙羊峡工地钢栈桥高强度螺栓连接的设计pdf4页
图片尺寸792x1117
大跨度下承式贝雷梁钢栈桥的制作方法
图片尺寸843x1000
水中钢栈桥
图片尺寸1424x1533
一种适用于港口的钢栈桥金属结构的制作方法
图片尺寸1000x807
长江大桥大跨径贝雷栈桥专项施工方案
图片尺寸414x513
装配式悬臂导向架施工栈桥工法
图片尺寸794x1123
本发明公开了一种输煤栈桥,属于钢结构与混凝土技术领域.
图片尺寸1358x1153
一种基坑装配式钢栈桥制造技术,装配式钢结构基坑围护专利_技高网
图片尺寸1000x703
一种贝雷梁钢栈桥的制作方法与工艺
图片尺寸1000x953