钢模板图片 图纸

一种可调节的方柱钢模板-爱企查
图片尺寸1639x2247
盖梁钢模板制作设计图-路桥工程图纸-筑龙路桥市政论坛
图片尺寸879x631
专业生产 平面钢模板 定型钢模板 组合钢模板 钢模版3015 10015
图片尺寸900x1691
半悬臂大块钢模板安装图
图片尺寸560x403
钢模板加工图下载(57.84 kb,dwg格式) 机械cad图纸
图片尺寸779x537
钢锭模
图片尺寸1694x2318
a3-钢板1.dwg
图片尺寸1200x800
建议收藏丨全钢大模板设计,施工知识详细介绍(节点图)
图片尺寸497x655
50米t梁钢模板设计图-路桥工程图纸-筑龙路桥市政论坛
图片尺寸971x678
冲压钢板模设计标准
图片尺寸1080x530
大钢模墙体模板详图
图片尺寸457x425
全钢大模板设计施工知识详细介绍节点图
图片尺寸444x1153
需要激光切割一批钢板,数量500件起加工单_图纸(1)
图片尺寸424x600
组合钢模板技术规范
图片尺寸651x264
大桥方墩钢模板图纸
图片尺寸560x420
老师,你好,关于h型钢的问题,请问长度怎么是21877mm
图片尺寸845x624
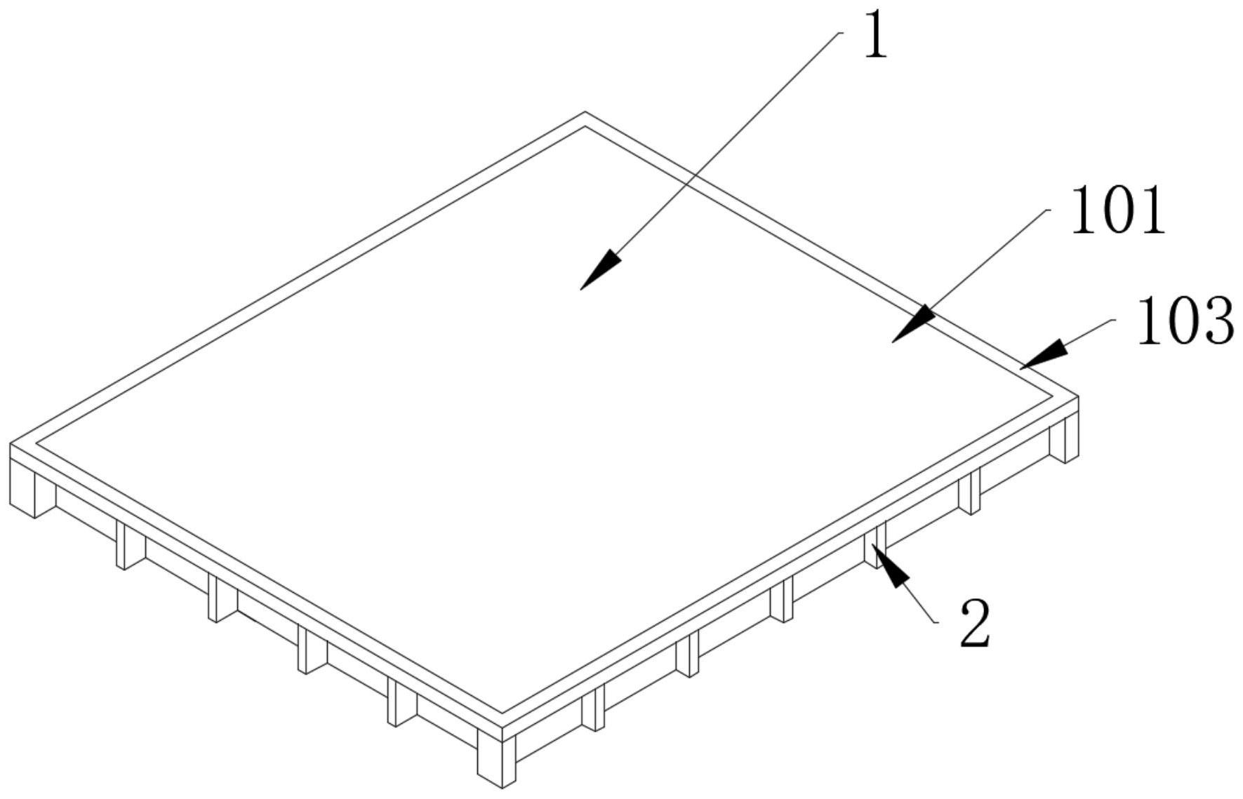
cn112796507a_一种耐磨复合型多层钢制建筑模板
图片尺寸1771x1139
钢框组合竹胶合板模板钢框主要部件截面图(jg/t 428-2014)
图片尺寸634x683
一种组合式钢模板制造技术
图片尺寸480x320
jly3809机立窑(总体及传动部件)设计【含cad图纸】
图片尺寸1200x800