钢珠锁紧装置

供应考世美机械手快换装置配套用夹紧器钢珠锁紧夹紧器wka
图片尺寸959x646
一种阀门用钢珠环抱式锁紧装置及其套环
图片尺寸1119x1554
一种自密封钢珠锁紧式充气装置及方法
图片尺寸1744x813
一种自密封钢珠锁紧式充气装置及方法与流程
图片尺寸1000x448
一种旋转式钢珠锁紧装置及连接器
图片尺寸1742x879
枪械连接用钢珠旋转锁紧机构
图片尺寸986x1013
快速锁紧装置设计方案
图片尺寸535x548
通化不锈钢钢珠锁紧扎带哪里卖
图片尺寸720x1280
锁紧位置问题_手柄_调整_社区
图片尺寸787x912
隔离开关的锁紧装置,包括中轴,小轴,调节杆,触刀,触头,锁紧板,钢珠,顶
图片尺寸608x799
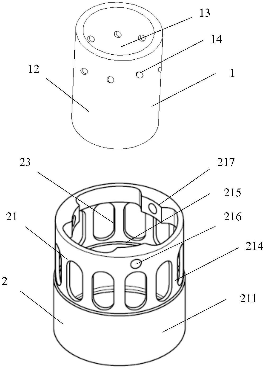
钢珠锁紧装置的制作方法
图片尺寸1000x819
凸轮旋合钢珠锁紧锥面定位装置的制作方法
图片尺寸340x444
cn204897048u_用于线盘夹紧的自锁式轴向锁紧装置失效
图片尺寸1852x1001
快速锁紧装置设计方案
图片尺寸712x453
一种用于汽车底盘的液压钢球锁紧装置
图片尺寸1000x614
供应气液两用钢珠锁紧自封闭高压快接 公制液压球头 高低压油管接头
图片尺寸474x474
不锈钢球担架贞操装置男用贞操锁cbt阴茎环sm情趣用品
图片尺寸800x800
角锁紧装置扭锁twistlock
图片尺寸750x750
广东海坦电气柜锁有限公司
图片尺寸800x800
轴向锁紧装置
图片尺寸642x578