钢筋定位器

混凝土钢筋定位器和完整性钢筋探测器 - buy rebar locator,rebar
图片尺寸640x640
混凝土钢筋位置检测仪保护层墙体金属钢筋位置扫描仪一体式测定仪ls
图片尺寸790x830
钢筋定位器2
图片尺寸456x339
定位器详情内容产品介绍:精轧螺纹钢筋, 材质42mnsiv,(也称预应力
图片尺寸640x480
钢模板空心墩钢筋骨架定位器
图片尺寸1200x1600
柱墙根部钢筋保护层定位器替代混凝土水泥垫块定位卡包邮支持定制
图片尺寸300x300
锚杆定位器
图片尺寸1920x1080
定位器
图片尺寸800x600
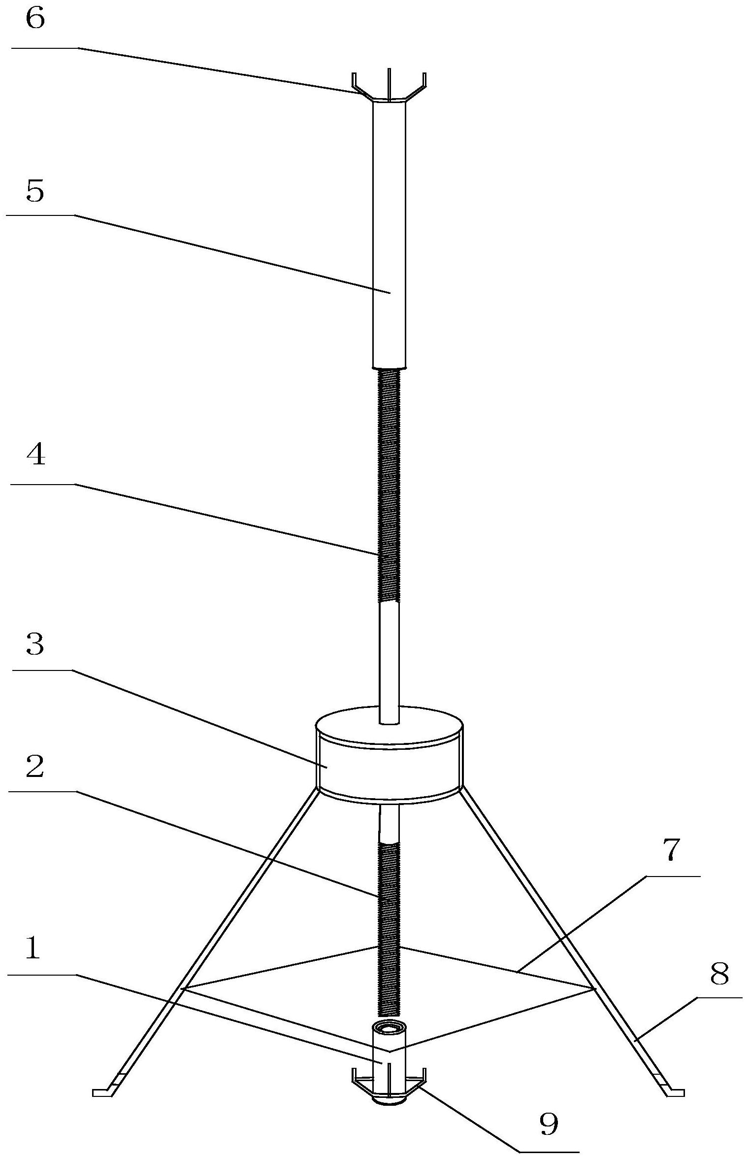
cn213205000u_一种钢筋定位器
图片尺寸1521x2353
晓军厂家定位器 m32 规格齐全 可定做
图片尺寸1080x2160
焊接定位器如何开拓国际市场?
图片尺寸750x875
定位器里面及效果图钢筋笼安装无焊接液压伸缩定位装置采用液压油缸
图片尺寸641x281
新型混凝土浇筑楼板楼层厚度高度控制器钢筋支架定位器
图片尺寸800x800
新型混凝土浇筑楼板楼层厚度高度控制器钢筋支架定位器
图片尺寸800x800
新型混凝土浇筑楼板楼层厚度高度控制器钢筋支架定位器
图片尺寸800x800
厂家直供工字钢定位桩 悬挑梁滑动定位器 立杆定位桩
图片尺寸1080x1080
槽钢型2米钢管定位器 车轮限位器 挡车器 停车倒车止退器
图片尺寸1280x720
产品名称钢管定位器
图片尺寸817x555
便携带式钻孔定位器定位器木工定位仪开孔定位器工具
图片尺寸1201x1201
自制切割钢筋钢管定位器,省时省力
图片尺寸640x360