钢筋笼结构

亲们,帮我查一下桩基钢筋笼的组成及各部分的特点
图片尺寸1115x1723
框架式安全梯笼
图片尺寸1687x1852
大型科普:钢筋笼吊装技术-安装过程要求
图片尺寸560x420
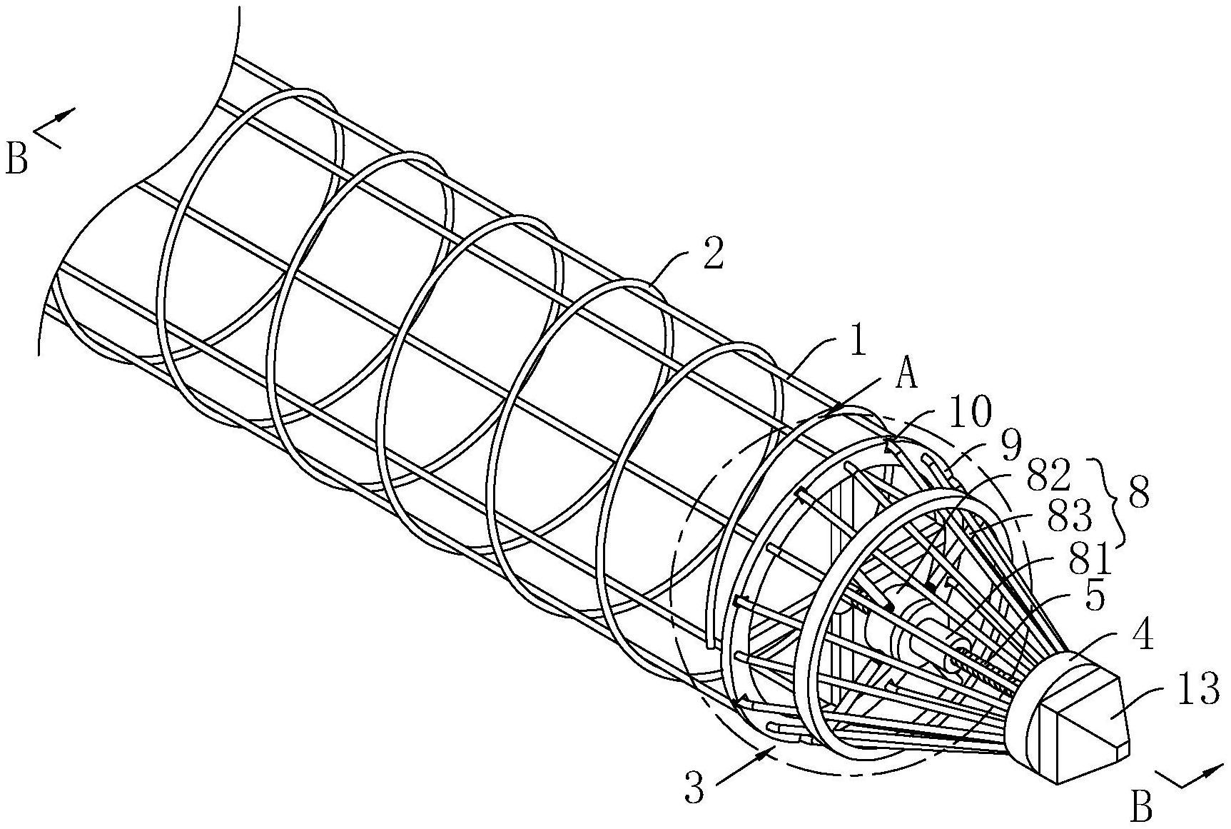
一种吊笼的制作方法
图片尺寸1000x642
混凝土框架柱滚焊螺旋箍筋钢筋笼及其制备方法
图片尺寸901x2801
灌注桩桩头用钢筋笼的制作方法
图片尺寸655x1000
钢筋笼
图片尺寸503x730
一种钻孔灌注桩钢筋笼构造设计及制作施工方法
图片尺寸1029x2742
一种钢筋笼吊具
图片尺寸2346x1284
长螺旋钻孔压灌桩用钢筋笼
图片尺寸1725x1161
cn202055240u_大直径钻孔灌注桩用钢筋笼有效
图片尺寸826x1216
柱形钢筋笼的加工方法及设备技术
图片尺寸1000x488
钢筋笼及钢筋笼的形状恢复方法与流程
图片尺寸749x1000
地下连墙钢筋笼加固及配筋节点详图
图片尺寸600x435
钢筋笼安装吊装装置的制作方法
图片尺寸1000x848
一种用于超低净空桩基施工的可加长钢筋笼
图片尺寸880x1000
钢筋笼绑扎装置的制作方法
图片尺寸1000x464
钢筋笼加劲钢筋制作示意图
图片尺寸389x306
一种可回收利用的桩基钢筋笼吊筋装置的制作方法
图片尺寸861x1000
一种易拆卸可循环钢筋笼骨架三角支撑
图片尺寸1597x1536