钢管三角架搭法

钢管三角悬挑支撑架方案_第2页
图片尺寸920x1302
广州物流园大门口防撞护栏 89镀锌钢管焊接三角架护栏
图片尺寸750x750
郭正兴:盘扣式钢管脚手架标准修订及工程创新应用
图片尺寸960x540
搭设扣件式钢管脚手架
图片尺寸600x453
钢管架搭建施工方案
图片尺寸640x445
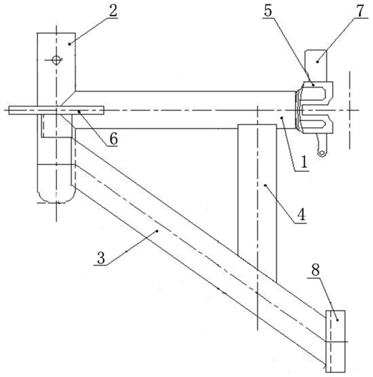
一种承插型盘扣式钢管脚手架外挂三角架
图片尺寸1227x1240
型钢三角架吊装
图片尺寸760x528
三角形钢管悬挑脚手架搭设施工专项方案编制
图片尺寸370x353
钢管三角悬挑支撑架方案.doc
图片尺寸792x1120
一种承插型盘扣式钢管脚手架外挂三角架的制作方法
图片尺寸989x1000
三角支撑外挂架 - 抖音
图片尺寸500x473
天然气管道三角支架固定支撑托架燃气管道l型角铁三角型支架燃气管
图片尺寸1080x1920
干货分享!碗扣式钢管脚手架怎么搭?
图片尺寸565x424
管道支架天燃气电力角铁三角架加厚层板托承重隔木板货架直角固定
图片尺寸800x800
钢管架
图片尺寸564x329
钢管支架距离规范要求
图片尺寸750x400
内江脚手架供求网钢管怎么搭三角架
图片尺寸750x750
钢管脚手架的搭设
图片尺寸1080x810
钢管外架搭设标准尺寸
图片尺寸640x341
25盘扣式钢管支架搭设示意图
图片尺寸600x563