钢结构十字柱图纸

钢结构十字钢柱绘制说数据有误请老师指点下
图片尺寸667x695
大型公共建筑十字型钢y型型钢混凝土柱施工工法-钢结构-筑龙建筑施工
图片尺寸560x380
一种十字形钢结构柱及施工方法与流程
图片尺寸1000x916
类别:结构设计 > 钢结构节点详图 发布时间:2011-02
图片尺寸560x291
十字钢结构及其加工工艺的制作方法
图片尺寸327x444
钢结构工程量计算稿实例(excel)
图片尺寸350x592
一种y型十字柱钢结构节点
图片尺寸531x656
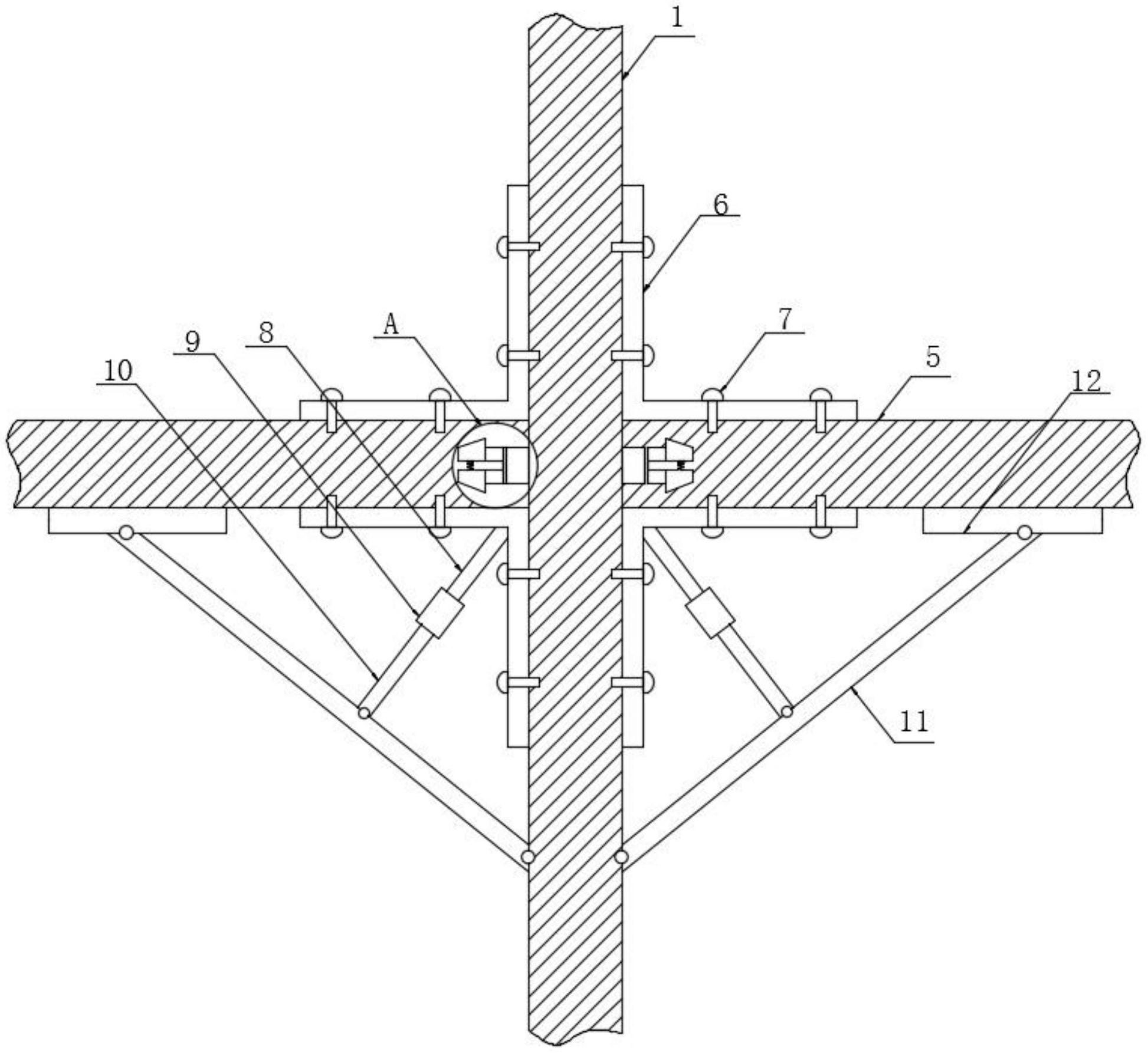
本发明公开了一种十字柱箍筋连接装置,涉及钢结构十字柱浇筑混凝土
图片尺寸1845x2161![[山东]超高层商业综合体钢结构制作施工组织设计(钢骨架,钢桁架](https://i.ecywang.com/upload/1/img2.baidu.com/it/u=1221168954,2782321644&fm=253&fmt=auto&app=138&f=JPEG?w=500&h=505)
[山东]超高层商业综合体钢结构制作施工组织设计(钢骨架,钢桁架
图片尺寸637x643
柱拼接及钢箱梁拼接大样(cad)-钢结构节点详图-筑龙结构设计论坛
图片尺寸760x646
本实用新型涉及建筑领域及建筑钢结构,具体涉及建筑钢结构柱连接节点
图片尺寸1000x979
关键词: 钢结构节点详图十字形截面柱
图片尺寸504x538
陕西航旅二期十字型精制钢柱风雨连廊图纸深化案例
图片尺寸1023x732
基于装配式钢结构的十字型梁柱支撑节点结构
图片尺寸1946x1785
钢柱及十字形钢骨拼装
图片尺寸1024x610
钢结构十字柱内的加劲板切角大小有什么规定规范吗
图片尺寸658x551
箱形截面柱与十字形截面柱节点构造详图-钢结构节点详图-筑龙结构设计
图片尺寸560x262
背景技术:在钢结构加工中,十字钢柱是一种应用非常广泛的钢结构加工
图片尺寸1000x699
本图纸为十字形截面柱的工地拼接及耳板的设置节点构造详图,图纸包含
图片尺寸610x861
大跨度工业厂房钢结构吊装施工技术
图片尺寸356x399