钢结构胎架图片

90米,采用胎架辅助结构桁架安装
图片尺寸1080x810
集团有限公司承建的中原高铁港数字展贸城项目首批钢结构胎架拼装完成
图片尺寸4032x3024
预制场钢筋胎架
图片尺寸1000x750
图片尺寸1080x2340
一种大钢构件装配式拼装胎架
图片尺寸1781x1145
🛠️揭秘胎架:桥梁与旋转爬梯的支撑神器
图片尺寸1440x1890
贝雷梁
图片尺寸1600x1200
单根吊装改成整节段吊装优化前的副拱支架布置优化后的副拱支架布置钢
图片尺寸800x1064
一个胎架已完成制作,另外三个两天可以完工.明天开始配料上板,时间短
图片尺寸1440x3126
预制场钢筋胎架
图片尺寸1280x960
运用标准化胎架施工面对挑战,项目团队迎难而上,采用格构柱支撑,扁担
图片尺寸1768x1326
工业数字孪生大赛
图片尺寸640x480
工业数字孪生大赛
图片尺寸640x676
临时支撑胎架构造示意图.png钢网架安装防护.png金属屋面施工方案
图片尺寸760x603
产品类型|云南建投钢结构股份有限公司,云南建投钢结构股份有限公司
图片尺寸4160x3120
2号厂房,a3~a4胎架制作已完成70,老王班
图片尺寸1600x1200
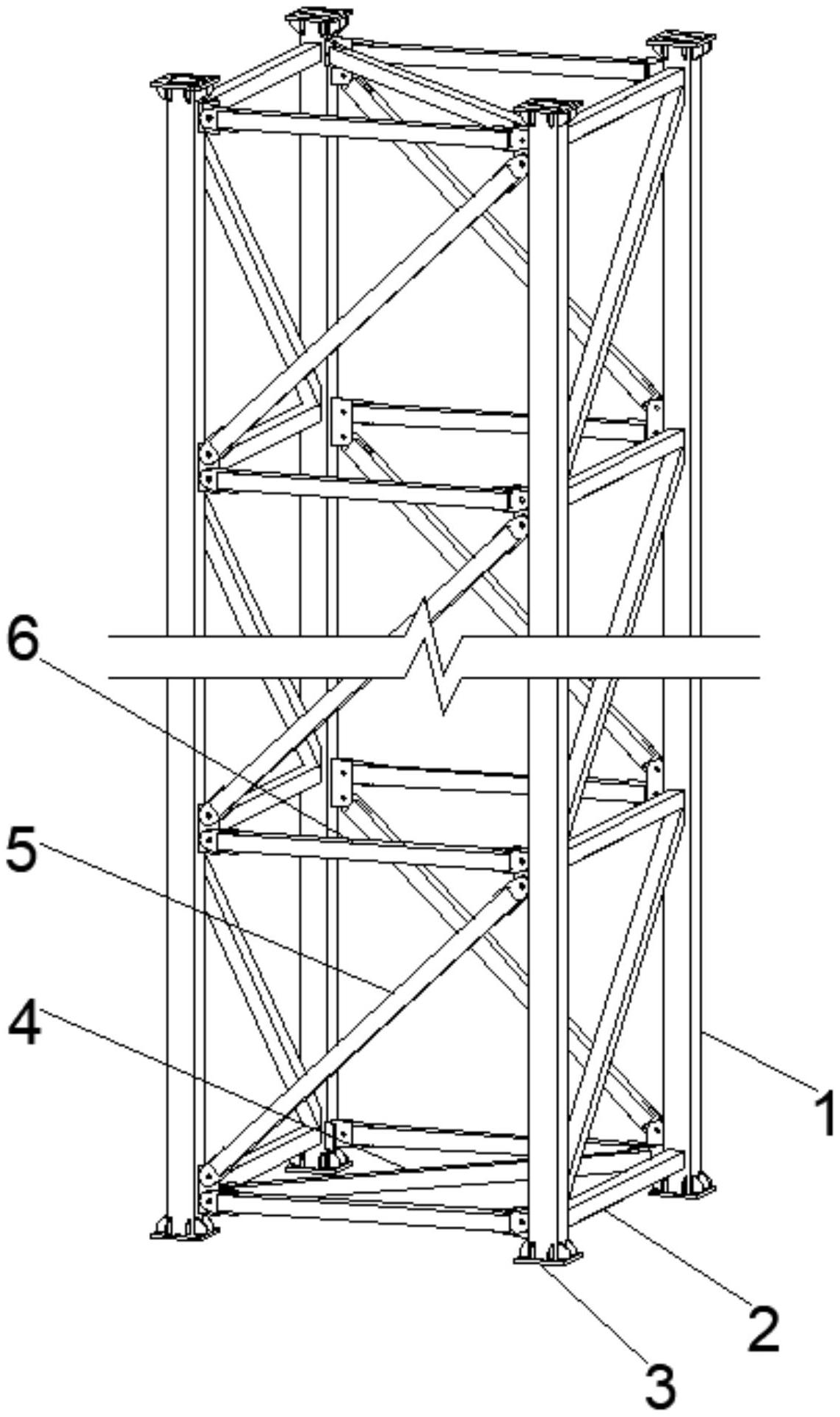
一种超高超长悬挑斜钢柱防倾覆支撑胎架
图片尺寸1144x1930
为了保证钢结构安装有序开展项目部建立了5g指挥中心构建成了智慧工地
图片尺寸1080x720
图七:腹板钢筋绑扎胎架
图片尺寸630x416
最终用到钢型胎架230多个,其中巨拱支撑架就有1.5万吨
图片尺寸1078x719