钢轨接续线安装图

钢轨接续线的安装
图片尺寸4029x3021
八家子站钢轨接续线整治美篇
图片尺寸2667x2000
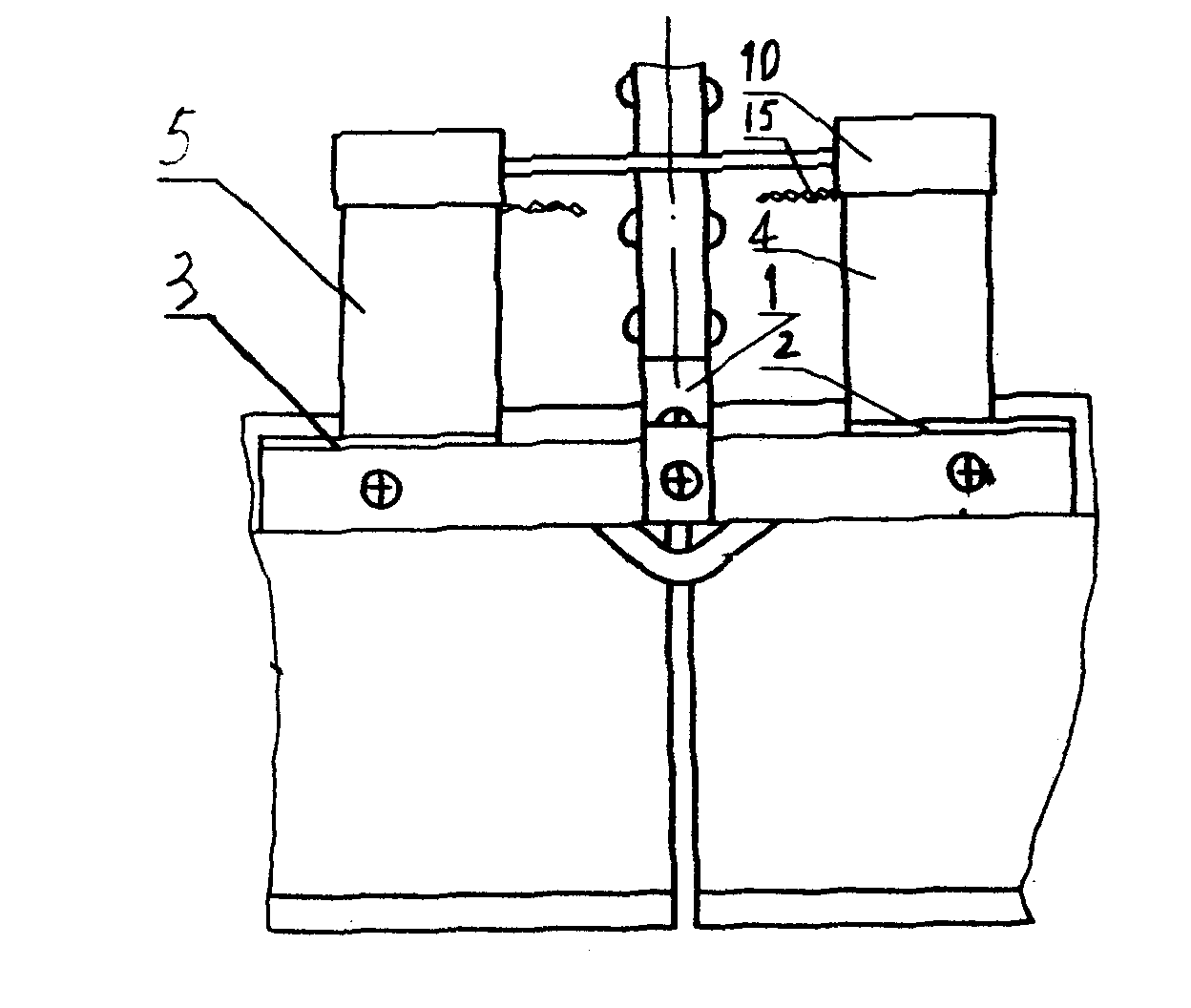
图3-1 js型塞钉式钢轨接续线
图片尺寸594x414
钢轨接续线的安装
图片尺寸3021x4029
钢轨接续线的安装
图片尺寸3021x3021
钢轨接续线的安装
图片尺寸2943x2942
钢轨接续线的安装
图片尺寸4029x3021
八家子站钢轨接续线整治美篇
图片尺寸2667x2000
它包括钢轨引接线,钢轨接续线(以及道岔跳线),其与钢轨连接是通过塞钉
图片尺寸707x534
钢轨接续线的安装
图片尺寸4029x3021
八家子站钢轨接续线整治美篇
图片尺寸2667x2000
轨道电路钢轨接续线自从电气化改造后换成了软钢丝绳后再也没有标准了
图片尺寸2667x2000
安装钢轨接续线和道岔跳线,用于改善线路的导电性能.
图片尺寸2667x2000
八家子站钢轨接续线整治美篇
图片尺寸2667x2000
八家子站钢轨接续线整治美篇
图片尺寸2667x2000
这是整治后的轨道电路接续线.沿袭了原来的与钢轨紧贴,平顺的标准.
图片尺寸2667x2000
城市轨道交通信号基础设备ppt_word文档在线阅读与
图片尺寸1080x807
钢轨接头接续线达到平,紧,直
图片尺寸1600x1200
钢轨接续线 钢轨引接线 跳线接续线 铁路信号接续线
图片尺寸750x750
你说有没有既不绝缘也不安装导线的接 ??
图片尺寸1080x810