钣金冲压工艺

钣金冲压工艺
图片尺寸1200x800
10幅钣金工艺动图,看花眼! : 各种压铆 各种冲压
图片尺寸640x480
件成本控制思路与方法锻造与冲压545次播放2021-05-14车身钣金冲压3
图片尺寸640x360
汽车钣金件的冲压,小型钣金件左右成对
图片尺寸500x281
选用下面几种方法提高精密钣金加工精度
图片尺寸500x500
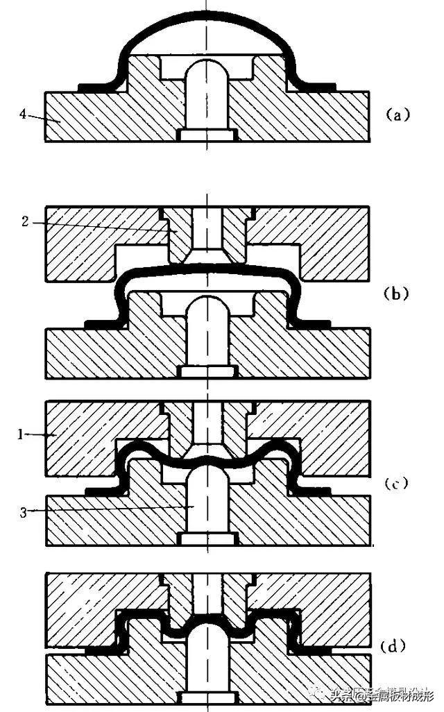
无忧文档 所有分类 高等教育 工学 冲压成型ppt 一,冲压工艺概述
图片尺寸1080x810
钣金件,它的主要特点是生产速度快,产品一致性高,因为采用的是冲压
图片尺寸640x961
常见冷冲压钣金模工艺
图片尺寸1024x683
来看看传说中的轧制是怎么回事~冲压属于汽车制造4大工艺之一,也是
图片尺寸640x480
冲压模具设计与成形工艺30个经验要点
图片尺寸1080x611
青岛冲压冲孔服务定制钣金制造粉末涂层钣金结扎件
图片尺寸2370x2370
模具#钣金冲压卷圆结构,生产效果很好,能看懂其工艺吗?
图片尺寸1080x1920
buy 冲压机械零件,板材元,高品质钣金冲压机械零件 product on
图片尺寸1080x1920
鸿沃hw1001 深圳鸿沃冲压件钣金加工
图片尺寸600x450
冲压工艺流程 设计总结 冷冲压模具设计 热冲压成形技术 钣金加工工艺
图片尺寸1080x810
定制冲压工艺零件金属表面处理钣金制造
图片尺寸693x611
渐进模冲压的侧面视图.高科技钣金制造工艺照片
图片尺寸450x300
mfc推荐掌握40种冲压工艺还怕月薪不过万
图片尺寸640x1026
16,钣金折弯较多的零件,调模时要按工艺流程一步一步来调钣金折弯.
图片尺寸500x495
钣金冲压工艺在加工中的优势
图片尺寸1024x768