钩舌销零件图

销子加工
图片尺寸688x1034
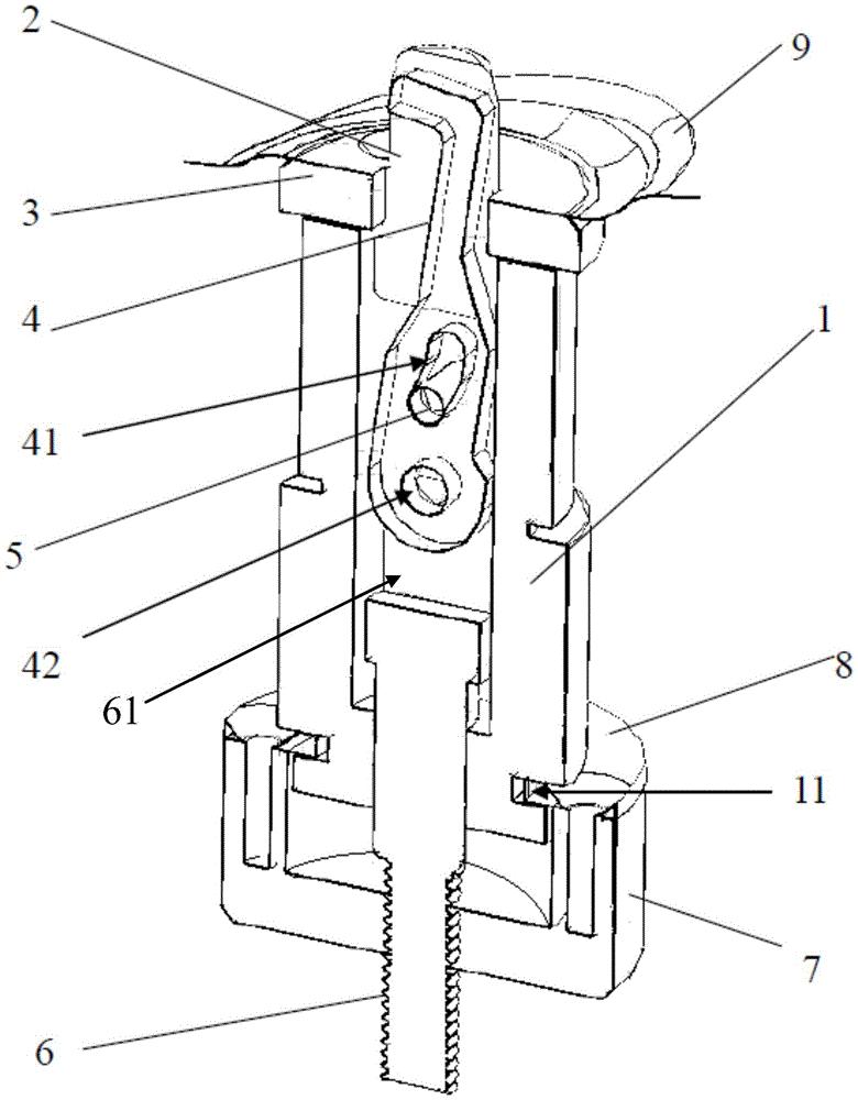
四向夹紧的勾销结构
图片尺寸1650x1978
一种平行四边形勾销装置的制作方法
图片尺寸550x1000
一种检具中勾销定位压紧机构
图片尺寸780x1000
四向夹紧的勾销结构制造技术
图片尺寸820x1000
定位销零件图pdf
图片尺寸800x568
一种可防止钩舌销脱落的铁道车辆车钩
图片尺寸914x1000
风机的销子和弹性圈
图片尺寸555x256
一种一面两孔定位销设计方法
图片尺寸857x658
p>销一般用以联接,锁定零件或作装配定位用,也可以作为安全装置的
图片尺寸832x1056
固定式定位销零件图pdf
图片尺寸800x1132
圆柱销pdf
图片尺寸920x1302
牵引销强度计算
图片尺寸1053x562
cn211731382u_一种车钩及其钩舌
图片尺寸1791x922
cn105782200a_一种水泵泵体加工定位销结构失效
图片尺寸806x1000
m4m5m6m8m10m12 gb882发黑平头带孔销轴 t型销轴/定位销 插销子销
图片尺寸675x400
普通开口销(发夹销)
图片尺寸2441x1701
球头销
图片尺寸678x502
cn206816644u_一种定位销有效
图片尺寸428x233
定位销 大头锥角型 非磁性型
图片尺寸664x295