钳子素描

素描 钳子-2
图片尺寸700x495
指甲钳
图片尺寸1080x1080
素描 钳子-1
图片尺寸700x495
9.22星期六全天提高班素描作品赏析点评!
图片尺寸2478x1689
素描 钳子
图片尺寸865x662
老虎钳
图片尺寸339x492
cn2072885u_多功能老虎钳失效
图片尺寸1216x2327
一种汽车制动钳制造技术
图片尺寸1000x612
cn301767072s_钳子失效
图片尺寸928x1240
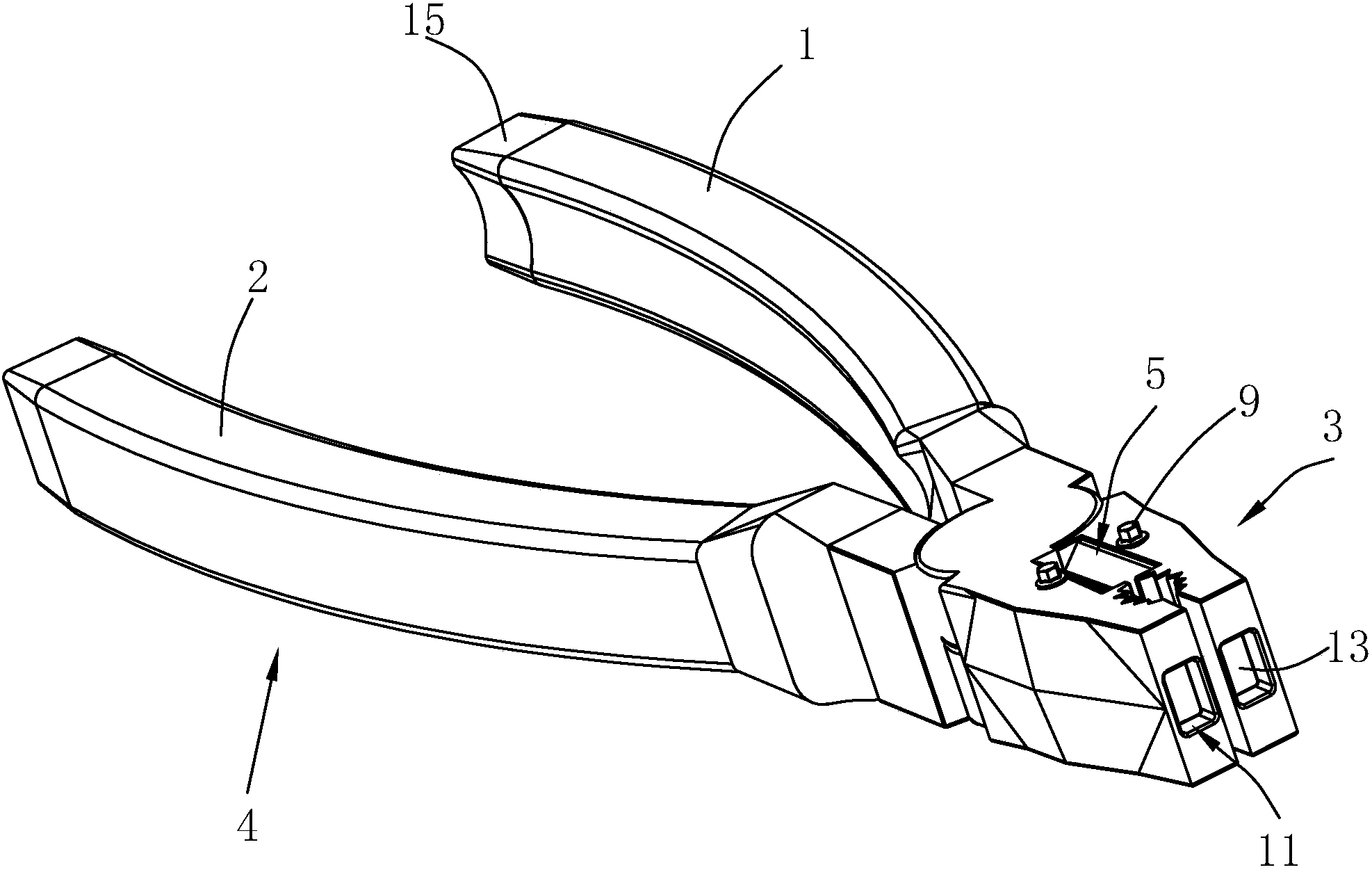
一种老虎钳
图片尺寸1974x1254
指甲钳
图片尺寸900x900
电力剥线钳
图片尺寸323x456
滨州艺馨美术素描
图片尺寸640x904
cn2117974u_更换头组合式多功能钳子失效
图片尺寸2272x2615
《雨轩画坊》帝都校区 素描二班 素描钳子雨轩画室 关注2018.04.
图片尺寸1200x1600
钳子
图片尺寸400x299
本周让同学们复习了线描,用流畅的线条和透视比例勾
图片尺寸1599x1199
《雨轩画坊》帝都校区 素描二班 素描钳子雨轩画室 关注2018.04.
图片尺寸1200x1600
【素描】各种素描静物,质感的塑造技巧,收藏备用!
图片尺寸566x763
钳子_素描_卡通_插画_高清图片_全景视觉
图片尺寸670x670