钻井减震器

石油钻井,震击器,打捞器
图片尺寸600x600
62y-44555-00-94 老款e40g e40j 船外机 下减震器 mount damper
图片尺寸1920x1920
hsd型空气弹簧减震器风机空调减震器机械设备减震器水泵机组减震器
图片尺寸1080x1080
xhs型吊式弹簧减震器适用工况-供应产品-河北亦辰减震器制造有限公司
图片尺寸750x750
减震器
图片尺寸1078x1056
弹簧式减震器
图片尺寸392x388
离心机阻尼减震器构造部件防止共振时的效果_影响_弹簧_支架
图片尺寸750x750
zd型落地式座装阻尼减震器,厂家直销它可以与其他设备无缝连接 - 抖音
图片尺寸750x1000
zd型卧式阻尼弹簧减震器
图片尺寸727x683
ja型阻尼弹簧减震器水泵发电机组减振器可调节座装减震器 ja-1-45kg
图片尺寸750x500
ja型阻尼弹簧减震器水泵发电机组减振器可调节座装减震器 ja-1-45kg
图片尺寸750x500
ja型阻尼弹簧减震器水泵发电机组减振器可调节座装减震器 ja-1-45kg
图片尺寸750x500
徐水zd弹簧减震器厂家直销
图片尺寸3024x3024
ja型可调节阻尼弹簧减震器风机水泵空调变压器多组弹簧座装减震器
图片尺寸1440x1080
氮气减震器与普通传统减震器的区别以及优缺点
图片尺寸800x1600
zte减震器
图片尺寸1276x1702
21款减震器加粗了
图片尺寸700x933
日通空调减震器性能好
图片尺寸1440x1080
减震器,挖掘机减震器,济宁密韧机械 认证商家
图片尺寸519x700
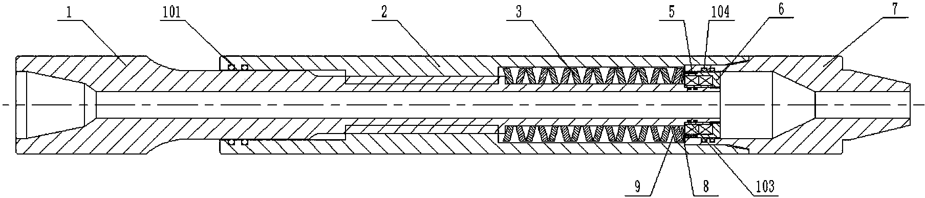
可调刚度钻井减震器
图片尺寸1807x387