钻井回压阀图片

什么是高精度回压阀有什么用途
图片尺寸820x615
pn1.6 dn100微阻缓闭止回阀 hh44h-16c-100 煤矿井下水泵房使用
图片尺寸360x360
回压凡尔 钻采设备 单流阀 内防喷工具 钻井工具-阿里巴巴
图片尺寸1000x1000
钻具浮阀
图片尺寸800x708
箭型回压阀是钻井过程中钻具内防喷工具之一.
图片尺寸500x300
钻井用高压回流管汇气控阀
图片尺寸565x504
高压立式止回阀 奇众阀门 h42y油田专用法兰逆止阀_介质_压力_密封
图片尺寸750x750
h76x-16c dn300水锤压力小止回阀***-冠桓阀门厂家
图片尺寸750x750
厂家直销 钻井泥浆闸阀z23x 50-35 软密封 多种型号 放心选购_供应
图片尺寸1080x1440
h47h定压止回阀
图片尺寸1875x1875
马鞍山打井马鞍山钻井队马鞍山打深井多少钱一米
图片尺寸484x400
广东源泉钻井公司
图片尺寸600x480
超9000米中国石油超深井钻井能力再上新台阶
图片尺寸2048x1152
石油钻井钻头尺寸
图片尺寸1080x1080
回压控制阀
图片尺寸2368x1839
天然气钻井过程中所需的一种箭形回压阀,它解决了原钻井到区域气层时
图片尺寸1504x2611
钻井机,降水打井机,地源热泵钻机,水井钻机
图片尺寸1920x1149
612旋转钻井设备水龙头ppt
图片尺寸920x690
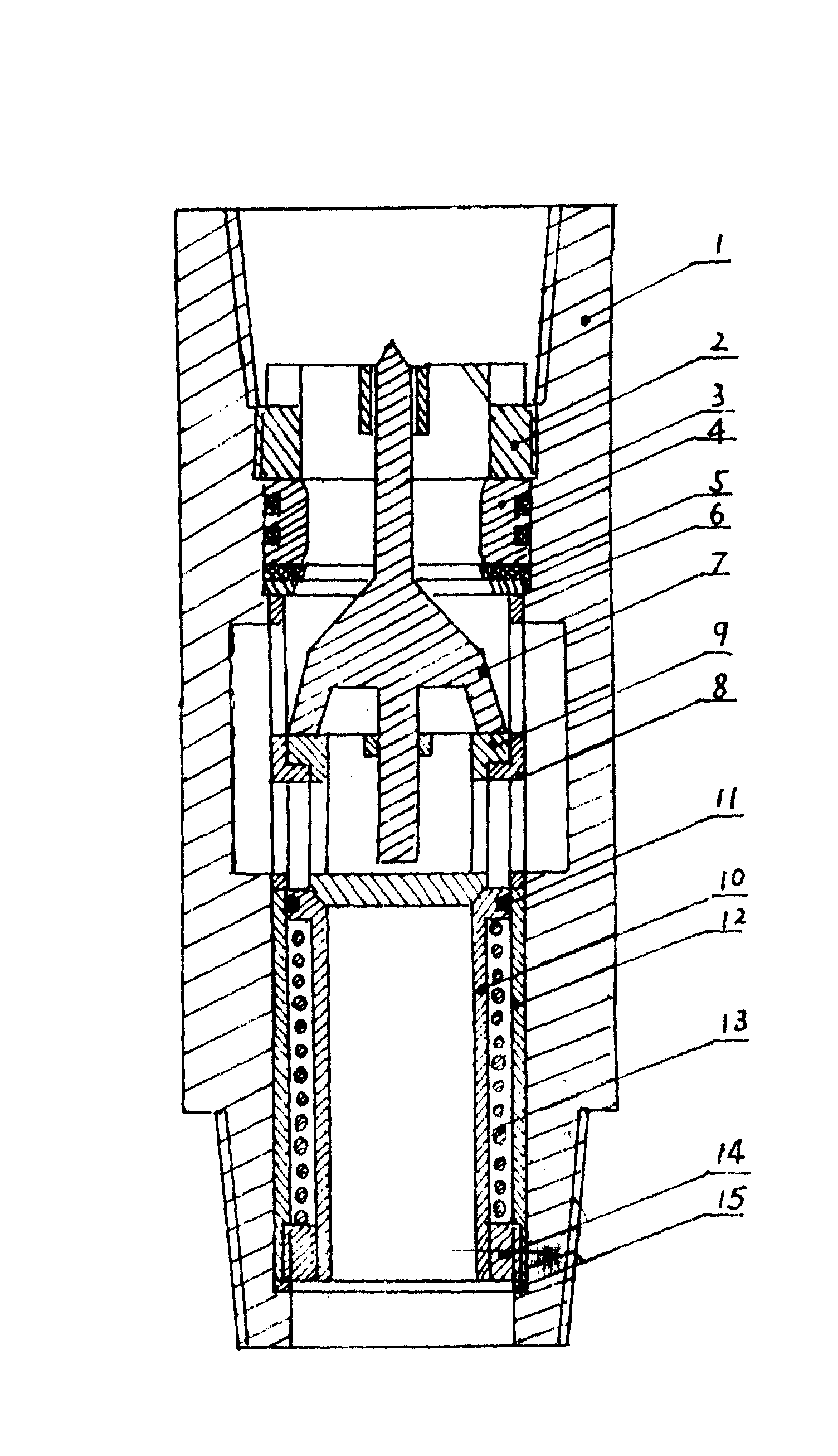
一种钻井用回压凡尔制造技术
图片尺寸443x510
效果: 精细控压钻井技术及时地发现溢流, 并施加井口回压,实时监测
图片尺寸1080x810