钻井大钩装配图

钻井大钩结构原理与使用维护
图片尺寸372x358
一种钻井船或浮式钻井平台用游车大钩装置
图片尺寸1476x1760
一种适用石油天然气钻井开采设备大钩总成的制作方法
图片尺寸310x443
用于石油钻井的游车大钩铸件-爱企查
图片尺寸1183x1030
一种钻井大钩用遥控电磁制动器
图片尺寸437x239
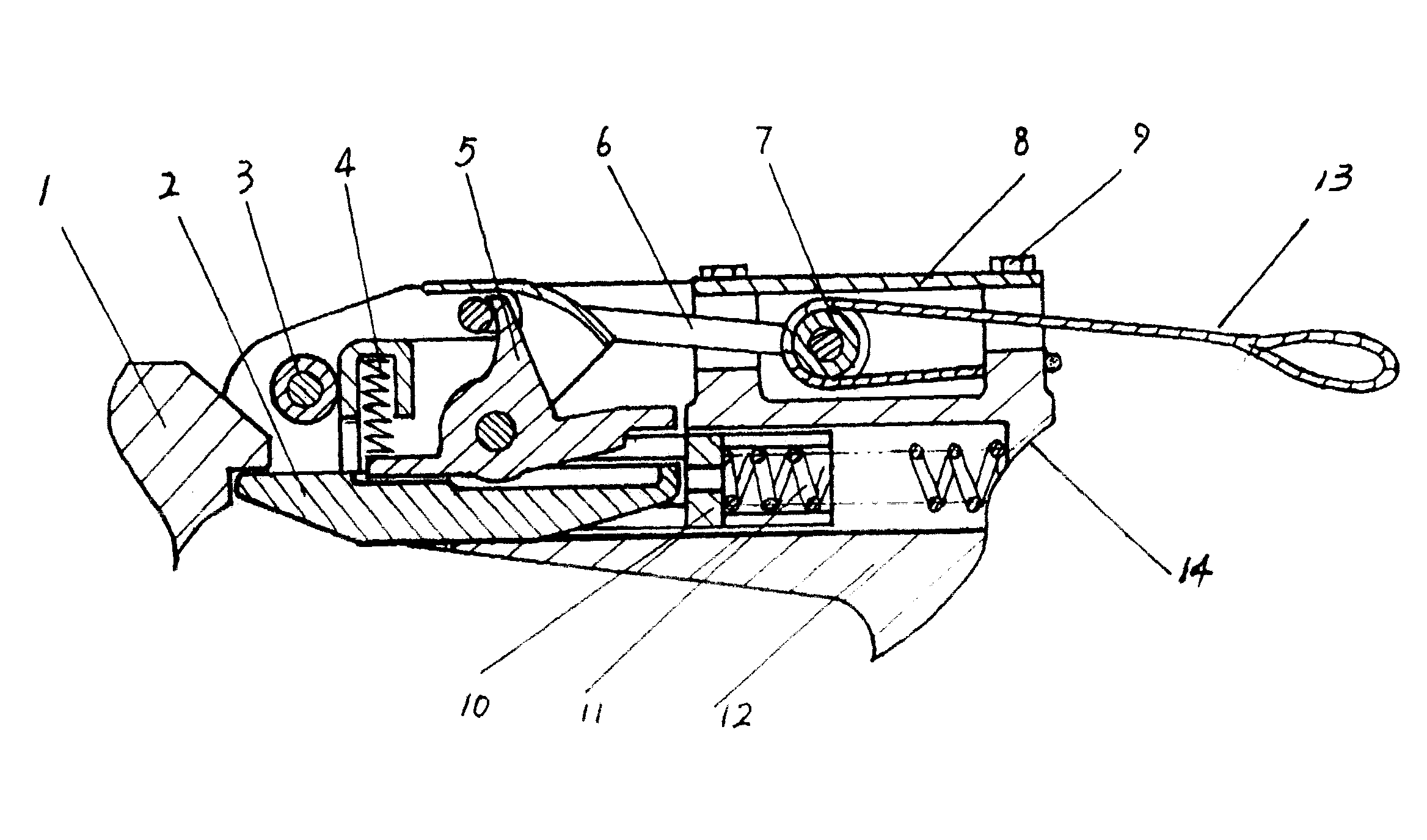
钻井大钩的双保险安全锁销机构
图片尺寸2336x1376
用于石油钻井的游车大钩铸件的制作方法
图片尺寸1000x939
a0-yg70-00游车大钩装配图
图片尺寸813x575
背景技术:在石油钻井,修井过程中钻机游车大钩等悬吊系统(简称:游车)
图片尺寸611x1000
cn108625792a_钻井用井架结构及钻井系统在审
图片尺寸909x1565
工作过程中事故发生的可能性随时存在,是威胁钻井作业安全的重要隐患
图片尺寸510x389
海洋钻井工程-2ppt
图片尺寸1080x810
大钩
图片尺寸750x1000
根据钻井作业工艺要求,大钩钩体应能按需灵活转动或锁止,而此功能的
图片尺寸444x344
yg225游车大钩#钻井修井#无损探伤#石油设备#机械制造 - 抖音
图片尺寸1920x1080
钻井液气大钳使用与维护ppt
图片尺寸1080x810
游车大钩是石油钻井的重要设备,游车大钩钩体用于悬挂水龙头,吊环以及
图片尺寸567x534
钻井实习报告
图片尺寸1035x671
海洋浮式钻井游车大钩升沉补偿装置制造方法及图纸
图片尺寸1000x876
游车大钩是石油钻井的重要设备,游车大钩钩体用于悬挂水龙头,吊环以及
图片尺寸355x444