钻具旁通阀

电动旁通闸阀z941y-40c dn450
图片尺寸1440x1920
z41h-40带旁通闸阀
图片尺寸1080x1080
电动差压旁通阀 螺杆钻具旁通阀 800x压差控制阀 粤
图片尺寸750x750
800x压差旁通阀
图片尺寸1000x750
500x泄压阀300x缓闭消声止回阀200x减压阀减压阀100x遥控浮球阀冶金
图片尺寸629x472
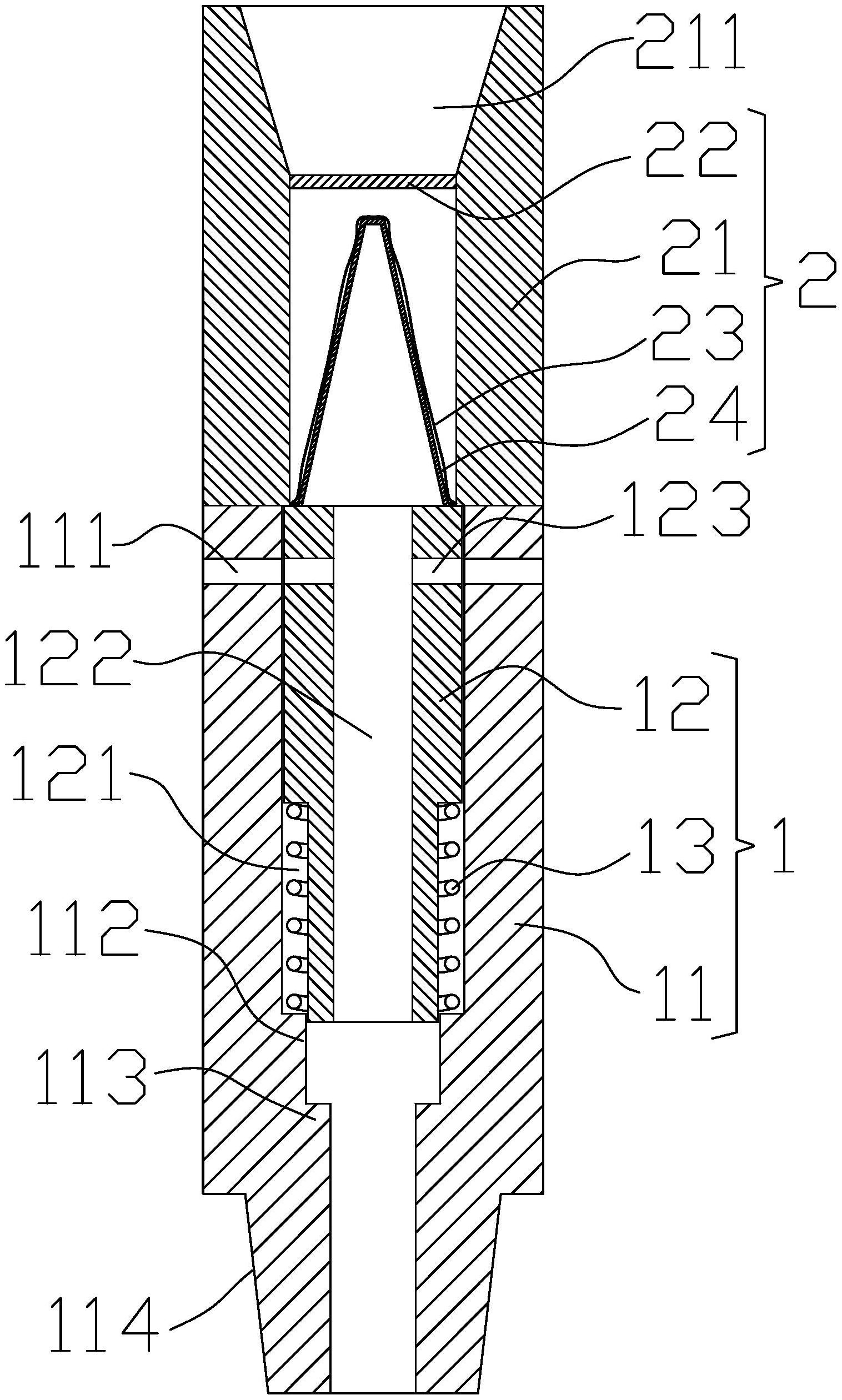
一种单向流动型螺杆钻具旁通阀
图片尺寸1000x561
一种带过滤机构的螺杆钻具旁通阀-爱企查
图片尺寸1516x2521
压力平衡阀 加厚法兰压差旁通阀800x型 dn150 6寸 天津卡尔斯阀门
图片尺寸300x300
山东电动阀源头厂家,价格最优惠,电动压差旁通阀,国产优质调节 - 抖音
图片尺寸1176x1549
旁通阀总成
图片尺寸480x640
带旁通阀门的作用 对于大口径或高压闸阀 为了减少启闭力矩
图片尺寸582x609
电动旁通闸阀.9292接受自己的普通9292然后拼尽全力去 - 抖音
图片尺寸1440x1920
进口哈威旁通阀原装进口现货.#旁通阀 #进口哈威旁通阀原装进 - 抖音
图片尺寸800x800
cn201306150y_螺杆钻具旁通阀失效
图片尺寸1040x1589
加工定制压差旁通阀 800x压差旁通平衡阀球铁法兰压差阀
图片尺寸1920x1920
电动二通阀,楼宇电动牙差旁通阀#工厂实拍视频 #楼宇 #调节 - 抖音
图片尺寸1440x1920
800x压差旁通平衡阀工作原理使用说明安装调试
图片尺寸1920x1080
对焊接头转换接头固定直径扩眼器多用钻具量规三点测径规套管刮削器
图片尺寸1080x1439
永嘉佳斯科阀门制造800x压差旁通阀 自力式压差旁通阀 厂家供应 - 爱
图片尺寸750x750
旁通双截止阀 z561h-25c dn800 z561h-2 - 抖音
图片尺寸1440x1920