钻机天车结构图

一种钻机可调节天车的制作方法
图片尺寸390x389
天车安全操作规程及相关知识ppt
图片尺寸1080x810
第四节 顶驱钻机
图片尺寸1077x808
石油钻机的主要概念和基本知识
图片尺寸632x1211
32吨双梁天车-更多起重设备-起重机_欧式起重机_桥
图片尺寸4958x3000
一种炭素预焙烧阳极车间专用夹钳天车,包括主梁,主梁
图片尺寸1748x1087
天车的电气设备ppt
图片尺寸1080x810
超深井石油钻机用天车 - cn201720251550.
图片尺寸554x399
天车 石油钻采设备配件 提升系统 钻机部件
图片尺寸800x656
碳素堆垛天车是碳素行业仓库的装用设备,主要结构有桥架,大小车运行
图片尺寸701x616
无尘室行车主要部件图及无尘室行车防尘处理方法
图片尺寸800x494
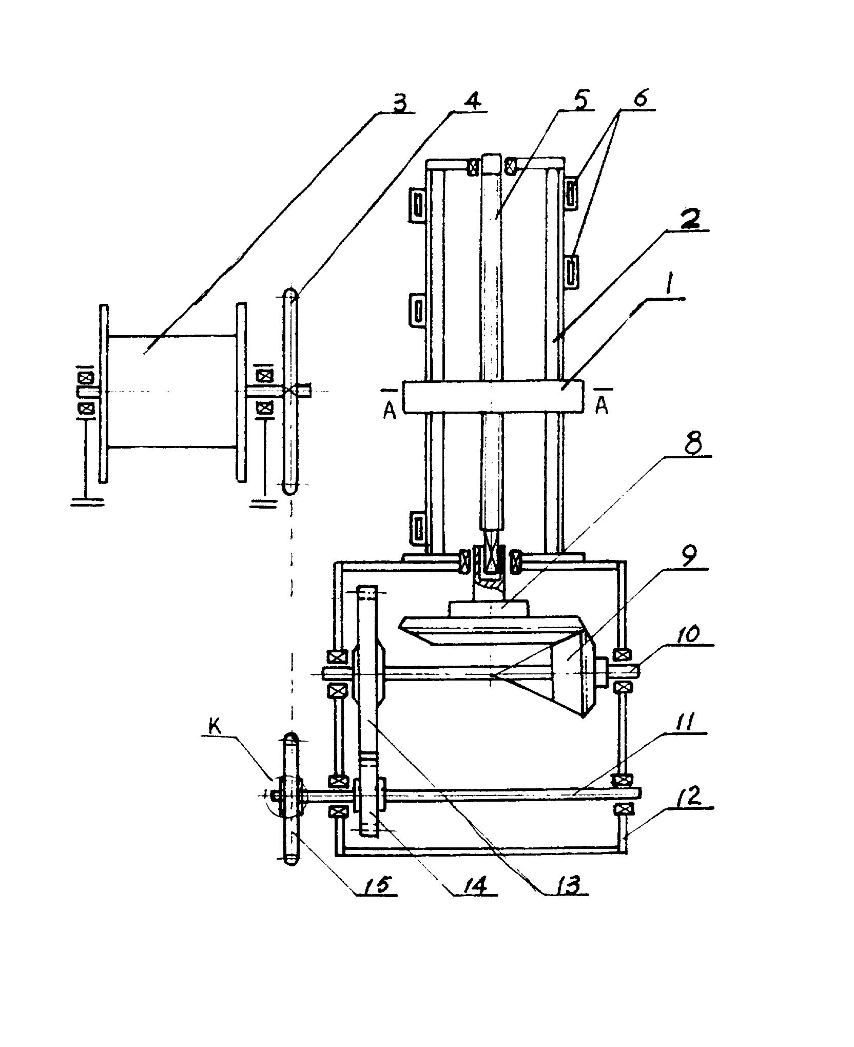
摘要附图摘要本实用新型涉及一种用于石油,地矿钻机提升系统防止与天
图片尺寸1664x2040
液压卡盘式长行程推进式钻机
图片尺寸1694x1912
背景技术:天车是钻机提升系统的一部分,安装在钻机井架顶部的定滑轮组
图片尺寸1000x710
第2节 旋转钻机的六大系统ppt
图片尺寸1170x810
天车组装cad图纸
图片尺寸820x580
天车工培训-电气部分(昆明工职院)ppt_word文档在线
图片尺寸1080x810
海洋模块钻机天车防碰系统介绍pdf5页
图片尺寸792x1081
75t天车总图
图片尺寸744x489
2钻机起升系统学习课程_第1页
图片尺寸920x518