钻机转盘结构图

转盘式竖井钻机结构
图片尺寸600x977
gcps—20型复合式多功能钻机的设计【5张cad图纸 pdf图】
图片尺寸1200x800
gps系列回旋钻机 1c-0转盘
图片尺寸741x1024
一种履带式坑道钻机的转盘转向与稳固装置
图片尺寸1904x2147
转盘钻机 spc-300h.ppt
图片尺寸1152x864
cn101967954a_旋挖钻机转盘装置有效
图片尺寸1567x2283
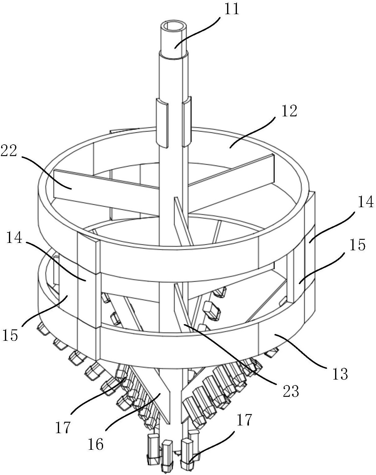
一种地基基础工程便于维修拆卸的工程钻机转盘的制作方法
图片尺寸443x394
一种钻机用耐磨转盘的制作方法
图片尺寸443x428
转盘式钻机钻头-爱企查
图片尺寸1222x1543
一种回转式钻机,包括机架,所述机架可拆卸式固定连接在地面上;回转盘
图片尺寸468x800
旋挖钻机的核心结构图示例
图片尺寸620x551
博世原装电动工具 手电钻gbm23-2e 专业级旋转调速夹持飞机钻
图片尺寸820x600
电动转盘机构
图片尺寸820x650
石油钻机的旋转系统ppt
图片尺寸1080x810
转盘的结构组成(6)在结构上应具有良好的密封,润滑和散热性能,以防止
图片尺寸640x291
一种定位转盘机构制造技术
图片尺寸877x1000
石油钻机转盘驱动变速箱-爱企查
图片尺寸1009x1021
液压卡盘式长行程推进式钻机
图片尺寸1694x1912
旋挖钻机整机结构图
图片尺寸369x581
优质高效 厂家设计生产 多轴钻床数控多轴钻图片_11
图片尺寸936x744