铁塔脚钉安装图

安登保电力登高铁塔脚钉攀爬器防坠器保险钩安全带电网高空攀岩
图片尺寸1200x1200
身为一名电力人,铁塔上的每一刻脚钉都有我们行走的痕迹!
图片尺寸599x799
目前,在输电线路的铁塔上均安装有用于攀爬的脚钉,它是一根形状为圆柱
图片尺寸644x1000
铁塔脚钉整齐有序 施工质量杠杠滴组塔 架线 有序推进加大与业主和
图片尺寸640x423
一种铁塔防坠的u形脚钉及其使用方法技术
图片尺寸644x1000
经过5分钟飞行,成功将装置挂设在现场28号铁塔横担中央并用安全绳固定
图片尺寸1267x845
(摄像师刘昊东爬铁塔)
图片尺寸548x304
(无人机将保险绳固定至塔顶上)在现场139号铁塔旁,无人机重力自锁装置
图片尺寸1080x810
热镀锌铁塔螺栓 脚踏螺钉 电力金具脚钉 宏固紧固件-厂货通
图片尺寸750x750
天聪铁塔螺栓永年螺栓厂生产热镀锌铁塔栓脚钉规格齐全
图片尺寸395x574
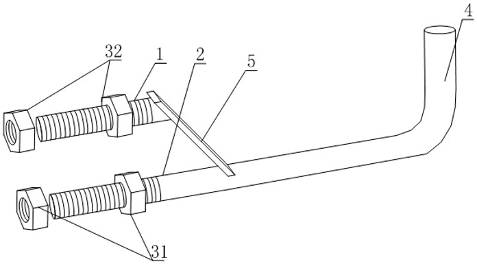
发明公开了一种可提高攀爬者站立平稳性的铁塔脚支结构,包括脚钉本体
图片尺寸696x385
化工塔设备地脚螺栓安装施工
图片尺寸708x708
枣庄电网创新工法压降输电施工风险超九成_新浪财经_新浪网
图片尺寸640x480
在监护人员检查后,于塔腿处做好冲击试验,依次攀爬上脚钉登上铁塔
图片尺寸640x426
10高处作业人员上下杆塔应沿脚钉或爬梯攀登, 不得使用绳索或拉线上下
图片尺寸1080x722
电力铁塔脚钉
图片尺寸285x190
电力人员攀爬上脚钉登上铁塔,准备走线检查.
图片尺寸700x524
其它 架空输电线路巡视基本要求(上) 写美篇▲ 脚钉锈蚀 4) 接地装置
图片尺寸458x816
福建500千伏桃源输变电工程建设调试侧记
图片尺寸915x642
热镀锌高强度脚钉螺栓 铁塔专用爬钉邯郸汇航批发
图片尺寸450x450