铁水罐结构名称

球罐安装现场质量关注点
图片尺寸545x304
球形储罐介绍
图片尺寸800x600
一种通用型引水罐-爱企查
图片尺寸542x800
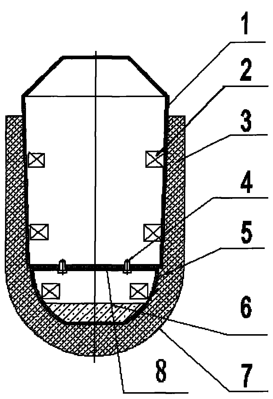
一种水箱底部布水结构-爱企查
图片尺寸1264x1111
鱼雷式铁水罐的构造,功能与对耐火材料的要求
图片尺寸640x302
铁水运输罐-爱企查
图片尺寸690x800
k系列搪玻璃反应釜(反应罐)-淄博兴田工业塘瓷厂
图片尺寸1100x1493
铁水罐 起重机车轮 锻造加工 毛坯 重型锻件 各类材质均可锻-厂货通
图片尺寸750x2074
一种大直径立式钢渣有压热闷罐
图片尺寸1640x1672
铁水罐
图片尺寸334x438
一种分层式储液罐
图片尺寸1666x2279
(加热或冷却) 3,外盘管搅拌罐 4,夹套内盘搅拌罐(加热/冷却一体) 结构
图片尺寸790x608
不锈钢调配罐 配料罐 配液罐 搅拌罐 配料桶
图片尺寸1275x1338
立式储水罐外形尺寸.png
图片尺寸1150x570
自流式污水沉淀罐
图片尺寸2106x2727
一种冷凝效率高的冷凝水罐
图片尺寸787x1000
一种冷凝集液罐
图片尺寸1733x2409
其能解决传统高炉铁水罐整体结构运输不便,罐口不易维修更换的问题
图片尺寸800x741
本实用新型涉及一种铁水罐整体浇注胎模装置,采用上,下分体结构,包括
图片尺寸924x1348
铁塔防腐,高空防腐,钢结构防腐,钢结构防火,管道防腐,管道保温,储罐
图片尺寸640x485