铁路客车缓解阀位置

2,pcv阀
图片尺寸375x285
映像·武客辆 | "拧紧"列车"安全阀"
图片尺寸1200x799
自动制动阀用来操纵全列车的制动及缓解,它有7个作用位置,即过充位
图片尺寸753x564
其它 始发列车人工检查一辆作业指导书 写美篇12.各梁缸阀及管路 12.
图片尺寸799x518
徒弟拉风也叫排风,是指由专人拉动待解车列每辆车的缓解阀,将副
图片尺寸1080x608
铁路客车104型空气分配阀
图片尺寸842x558
紧急放散阀合金铁路车长鸣笛阀铁路轨道车车长阀
图片尺寸750x750
火车控制阀.火车由大同机车厂制造!火车前轮.火车采用14管压油机.
图片尺寸1080x1620
铁路货车制动技术 以gk阀为核心的 空气制动系统 截断塞门 缓解阀 副
图片尺寸1080x810
石嘴山铁路配件,石嘴山阀门管路配件,石嘴山铁路扣板,石嘴山铸造零
图片尺寸800x533
规格型号:120-1型 组成:120-1型货车空气控制阀由主阀组成,缓解阀组成
图片尺寸500x281
此主题相关图片如下:10点50分检车员处理缓解阀拉条故障_副本
图片尺寸500x331
工作人员在检查车辆缓解阀拉杆吊架.覃泽诚摄
图片尺寸860x645
城市-要闻 正文国际在线消息:春运期间,为缓解运输压力,铁路部门加开
图片尺寸550x367
覃泽诚摄工作人员在检查车辆缓解阀拉杆吊架.覃泽诚摄
图片尺寸860x645
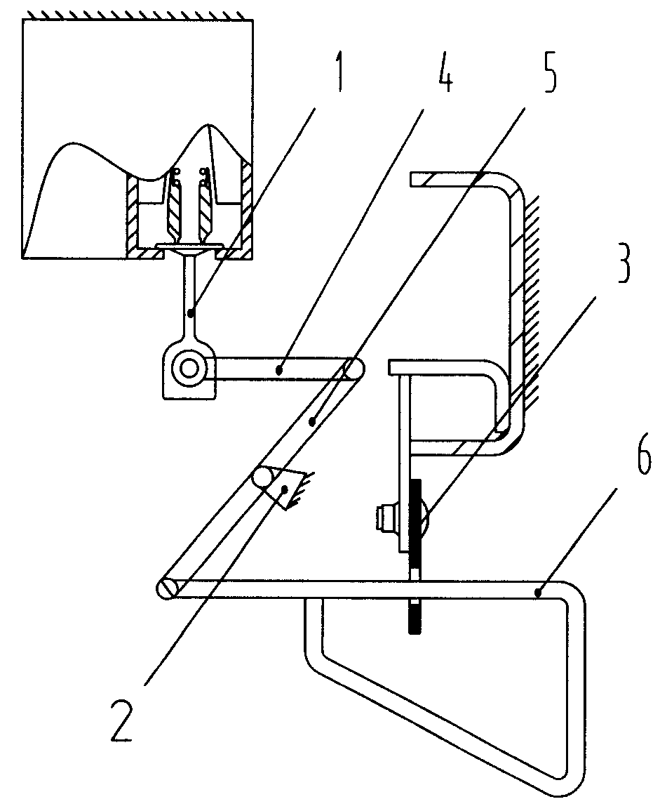
铁路车辆120制动机缓解阀四连杆机构式拉杆装置
图片尺寸951x1155
95001666 客车空气分配阀 msp104-00-00 95001667 主阀组成 msp
图片尺寸750x750
铁路货车用120货车空气制动阀
图片尺寸750x750
【铁路轨道车闸瓦】铁路轨道车闸瓦.jy290df4铸铁闸瓦.火车闸瓦
图片尺寸750x750
东风153斯太尔四回路保护阀客车四回路分气阀气路分配阀正品
图片尺寸300x300