铜板简笔画

简笔画铜板
图片尺寸591x300
一串铜板简笔画
图片尺寸500x762
铜币简笔画
图片尺寸900x600
铜矿图标在轮廓风格孤立在白色
图片尺寸1100x1100
年在伊利诺州铜板的两侧发现这些铜板186年magasinpittoresque插画
图片尺寸544x300
铜钱简笔画
图片尺寸720x629
一串铜板简笔画
图片尺寸399x228
古典铜板黑白图
图片尺寸486x480
圆形方孔铜钱简笔画
图片尺寸500x500
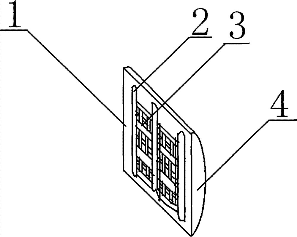
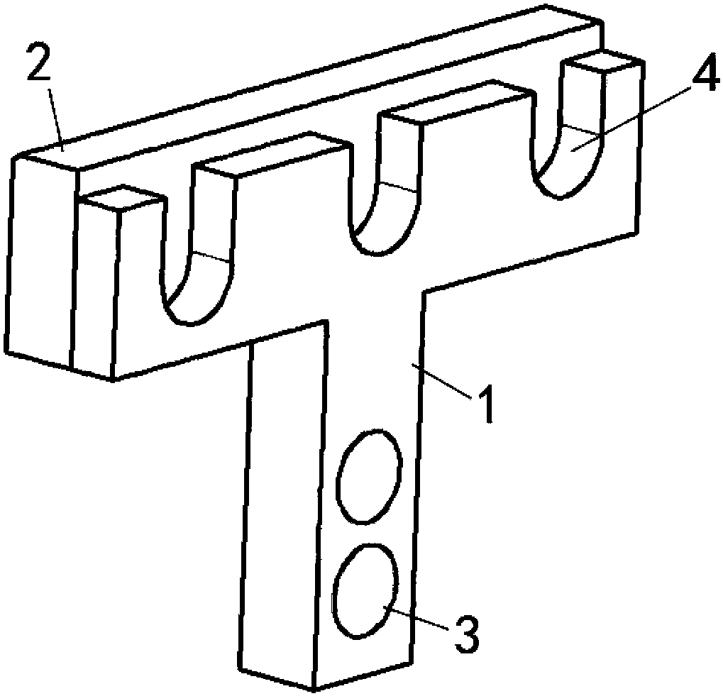
一种平板变压器的导电铜板的制作方法
图片尺寸1000x768
铜钱简笔画
图片尺寸479x909
cn208262125u_一种可拆卸式铜板有效
图片尺寸1019x981
铜币
图片尺寸571x501
铜币简笔画
图片尺寸900x600
古代金钱铜钱底纹矢量素材
图片尺寸650x651
矢量,铜,形状,轮廓,绘画插图
图片尺寸1100x1100
一种铜板快速夹持装置-爱企查
图片尺寸800x465
一种金属基覆铜板-爱企查
图片尺寸1128x720
真铜插画
图片尺寸300x300
本实用新型的技术方案是:包括铜板和冷却管,其特征是在冷却管之间设有
图片尺寸1000x800