铜电解槽结构图

一种用于铜离子回收的电解槽
图片尺寸1823x1526
最新历史版本 :电解槽返回词条
图片尺寸760x397
铜精炼电解槽-爱企查
图片尺寸1982x1175
铜精炼电解槽
图片尺寸1000x592
2电解槽三维结构模拟图
图片尺寸576x296
双极式电解槽结构 | 2024北京氢能展
图片尺寸1280x720
最新历史版本 :电解槽返回词条
图片尺寸604x615
一种带插拔模块的轻量化电解槽的制作方法
图片尺寸443x417
双极式电解槽结构 | 2024北京氢能展
图片尺寸1280x720
铜电解精炼的电解槽,阴极和阳极
图片尺寸710x2437
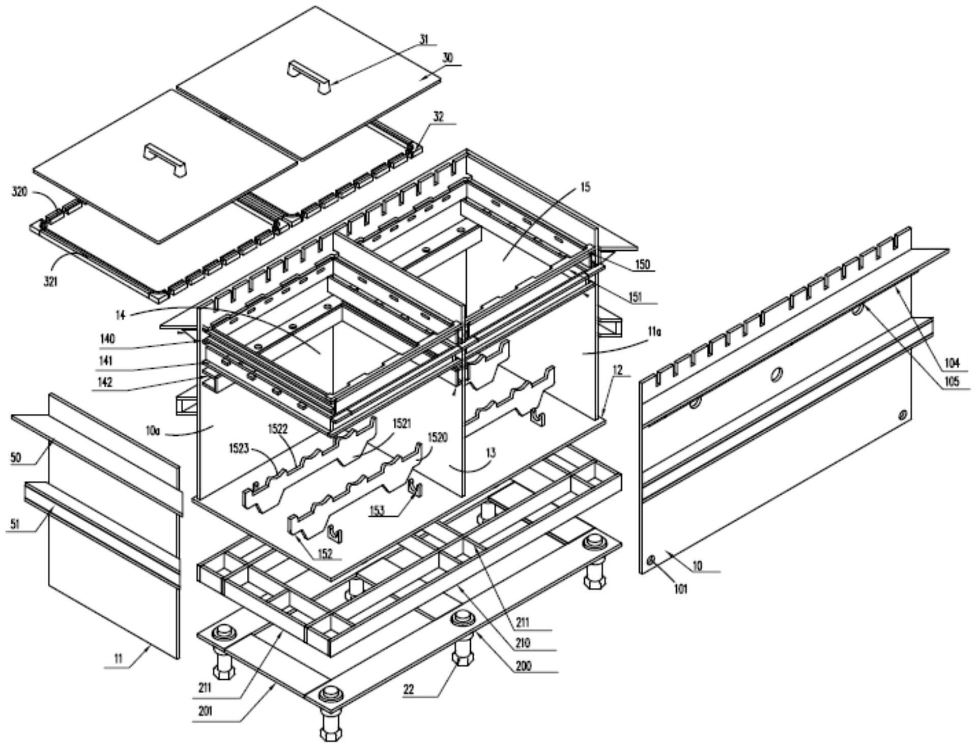
一种便于后续清理的用于回收铜的电解槽
图片尺寸1733x1238
碱性电解槽构成示意图资料来源:《中国电解水制氢产业蓝皮书2022》
图片尺寸906x714
电解槽按槽子的结构分为有底式和无底式;按槽壳外形分为正方形和长
图片尺寸554x343
cn212834066u_一种便于金属铜回收的电解槽
图片尺寸1461x1145
电解池是化学必修几的知识(第6章微题型58电解池原理)8
图片尺寸640x489
一种酸性蚀刻液铜电解装置-爱企查
图片尺寸1920x1473
cn107557818a_一种可连续电解生产铜钙合金的大型工业电解槽在审
图片尺寸1000x755
双极式电解槽结构 | 2024北京氢能展
图片尺寸1280x720
电解法的介绍
图片尺寸400x365
电解槽
图片尺寸677x557