铝基板结构图

pcb铝基板的结构是什么铝基pcb有哪些应用
图片尺寸600x275
铝基板是什么材料铝基板多少钱一平米
图片尺寸500x367
铝基板是一种具有良好散热功能的金属基覆铜板,一般单面板由三层结构
图片尺寸444x417
常见的铝基板结构如下,表层是走线层,中间层是绝缘导热层,此层导热
图片尺寸982x562
铝基板是一种具有良好散热功能的金属基覆铜板;铝基板是由三层结构所
图片尺寸444x423
一种多边铝基板结构制造技术,铝基板结构图专利_技高网
图片尺寸476x470
铝单板构造图
图片尺寸618x438
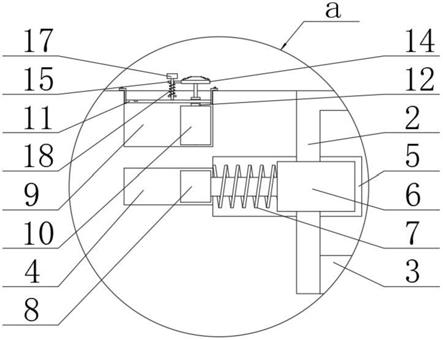
一种高效散热的铝基板结构的制作方法
图片尺寸443x289
铝基板是一种具有良好散热功能的金属基覆铜板,一般单面板由三层结构
图片尺寸444x351
铝基板是一种具有良好散热功能的金属基覆铜板,一般单面板由三层结构
图片尺寸443x318
pcb干货|带你从结构细看铝基板
图片尺寸642x323
什么叫铝基板 铝基板制作的工艺流程是什么
图片尺寸710x527
铝基板是一种具有良好散热功能的金属基覆铜板,一般单面板由三层结构
图片尺寸443x412
铝基板是一种具有良好散热功能的金属基覆铜板,一般单面板由三层结构
图片尺寸443x435
电源铝基板
图片尺寸213x112
铝基板是一种具有良好散热功能的金属基覆铜板,一般单面板由三层结构
图片尺寸454x207
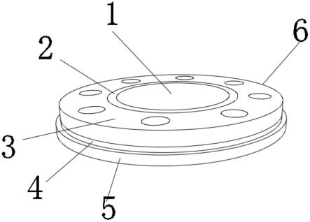
一种方便安装的铝基板的制作方法
图片尺寸1000x906
北京宏华泰不锈钢结构加工厂
图片尺寸1476x1080
铝单板结构层.jpg
图片尺寸800x324
一种led灯板的铝基板安装结构的制作方法
图片尺寸443x340