铰接式结构

全方位解读钢结构的铰接连接
图片尺寸823x634
铰接,指用铰链连接,建筑钢结构中,梁与柱的连接的常用形式之一.
图片尺寸546x448
一种钢结构节点的铰接结构
图片尺寸1000x669
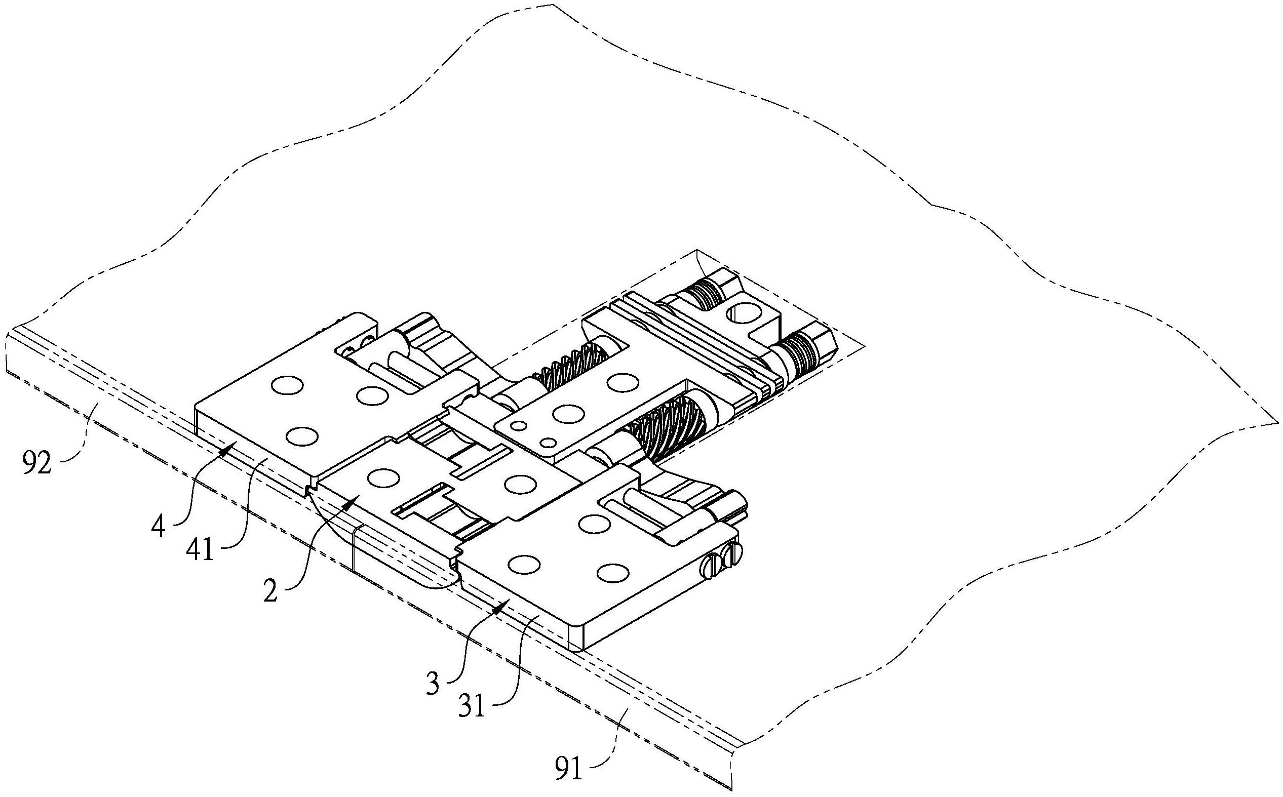
车辆在行驶过程中受到来自路面的冲击,导致铰接结构区域断裂问题频发
图片尺寸400x246
cn206288028u_轨道车辆中高地板铰接车铰接装置有效
图片尺寸1755x1310
cn101376324a_大型铰接客车拆分式桁架结构有效
图片尺寸1940x2317
cn211874209u_一种门窗的铰链结构
图片尺寸1870x896
一种铰接结构的制作方法
图片尺寸1000x461
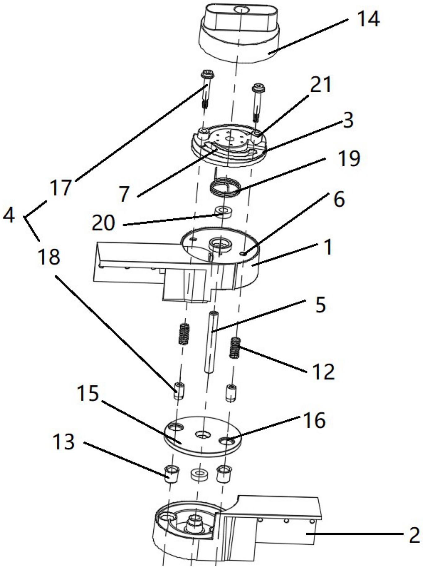
本实用新型公开了一种家具用缓冲铰链,包括依次顺序铰接的铰杯,连接臂
图片尺寸1000x798
铰接结构,微型挖掘机
图片尺寸1187x1393
一种抗震铰接件的制作方法
图片尺寸1000x713
一种铰接式叉车的制作方法
图片尺寸1000x917
一种预制装配式梁柱铰接节点
图片尺寸1919x1380
cn200943380y_一种玻璃门铰链失效
图片尺寸2274x1555
多功能的铰接装配结构
图片尺寸1000x724
cn213684935u_一种折叠杆铰接结构有效
图片尺寸1363x1830
cn213064312u_对开式铰链结构
图片尺寸2533x1574
detail系列—铰接连接-钢结构-筑龙结构设计论坛
图片尺寸1080x811
cn2906185y_双向定位铰链结构失效
图片尺寸1454x1731
矩形钢管主次梁铰接连接装配式节点制造技术
图片尺寸1000x756