铰接机构

【钢结构·技术】全方位解读钢结构的铰接连接
图片尺寸823x634
图3 铰链机构模型
图片尺寸620x281
【钢结构·技术】全方位解读钢结构的铰接连接
图片尺寸1080x811
铰接
图片尺寸600x350
铰链机构
图片尺寸573x531
双自由度单铰接仿形机构-智农361-国际专利·农资器具展示交易平台
图片尺寸1972x1893
铰接装置
图片尺寸3543x2000
铰接式运输车铰接销轴断裂仿真分析以及改进措施
图片尺寸400x246
双推杆机构铰链机构
图片尺寸470x735
铰链四杆机构_教学 (精品)ppt
图片尺寸1088x816
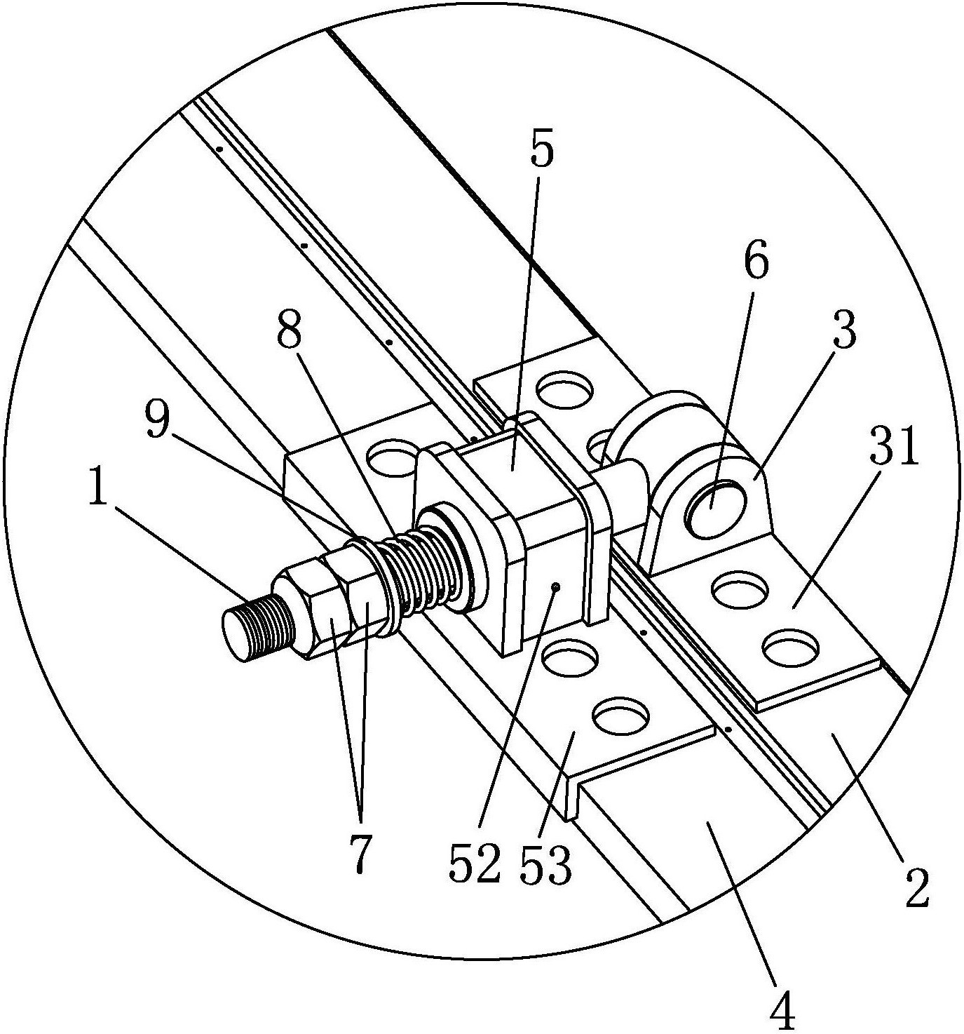
一种具有中间铰接机构的装载机车架的制作方法
图片尺寸1000x726
气缸铰链机构应用设计
图片尺寸726x570
铰链合页
图片尺寸530x440
小型压路机铰接架装配
图片尺寸600x454
一种压缩垃圾箱后门与箱体的铰接机构-爱企查
图片尺寸1375x1474
工程车后悬挂的铰接式连杆机构-爱企查
图片尺寸1789x1410
cn206288028u_轨道车辆中高地板铰接车铰接装置有效
图片尺寸1755x1310
什么是铰接?
图片尺寸640x595
车门铰链夹紧工装
图片尺寸603x409
单齿条的摆臂式液压阻尼控制的客车铰接系统-爱企查
图片尺寸1538x1084