铲车加力泵拆装图

左边是刹车加力泵.
图片尺寸733x555
小型装载机明宇山宇926922920配件空气加力泵 加气泵铲车加力器
图片尺寸1080x1080
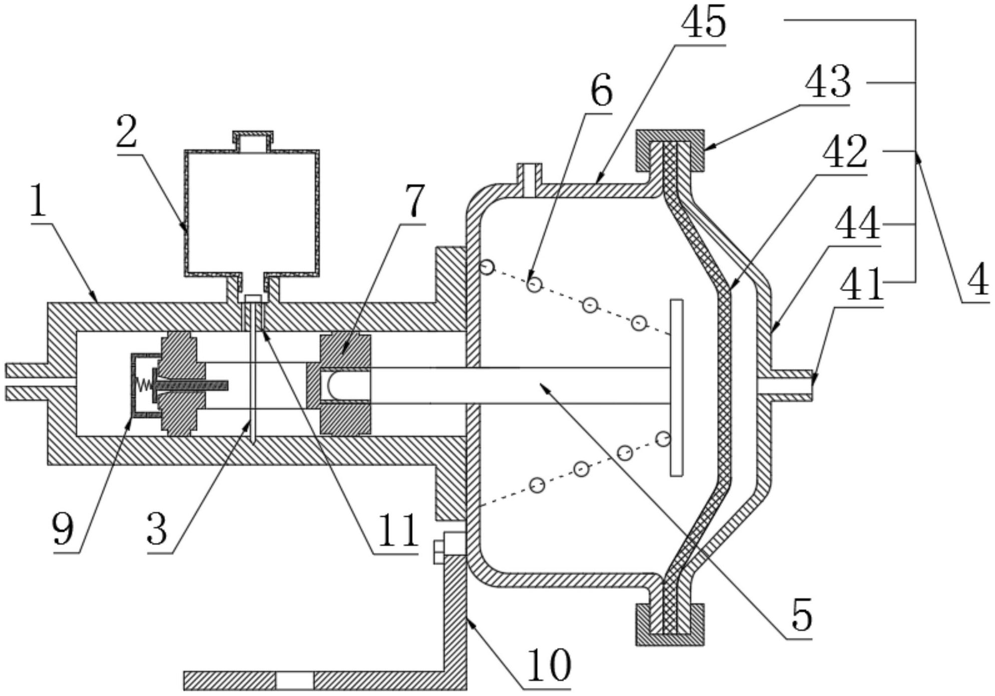
一种新型空气加力泵
图片尺寸1988x1390
装载机铲车空气加力泵 气刹助力泵 气顶油加力泵 刹车总泵 加力泵
图片尺寸1500x1500
装载机空气加力泵 铲车气刹刹车泵 刹车助力器刹车总泵加力泵
图片尺寸800x800
装载机空气加力泵 铲车气刹刹车泵刹车助力泵 刹车总泵油泵
图片尺寸960x960
柳工30e 856 855 50c等30 50铲车装载机刹车配件分泵助力泵加力泵
图片尺寸960x960
厦工951龙工850临工50装载机铲车刹车空气加力泵助力泵制动总泵
图片尺寸960x960
装载机刹车核心部品介绍-加力泵_铁甲工程机械论坛
图片尺寸758x461
掌握挖掘机液压泵拆解安装步骤战胜故障顽疾
图片尺寸600x291
装载机空气加力泵通用型明宇莱工铲车刹车总泵原厂配件刹车加力泵
图片尺寸1024x1024
明宇重工装载机928z/930/932/938f/940/950铲车原厂刹车阀 加力泵
图片尺寸960x960
柳工50c装载机855n铲车856刹车助力泵空气加力泵油杯雷沃刹车总泵
图片尺寸960x960
龙工成工50装载机856铲车855碟式刹车泵空气加力泵助力器制动分泵
图片尺寸800x800
山宇明宇926/930装载机刹车总泵 铲车助力泵 空气加力泵 气刹泵
图片尺寸800x800
装载机龙夏工刘临工徐工空气加力泵气动刹车助力器刹车助力泵原副
图片尺寸1080x1080
汇浦型双管路气制动阀精致 装载机加力泵 叉车总泵分泵
图片尺寸700x1000
柳工50装载机铲车配件龙工855 原厂件盛力 夏工953加力泵刹车总泵
图片尺寸960x960
500f.500kl装载机铲车加力泵刹车分泵助力芜湖加强泵
图片尺寸800x800
临工lg933.955.956.953.50装载机30铲车空气加力泵刹车助力泵原厂
图片尺寸800x800