铸造机结构

热室冷室压铸机简介-就上ug网
图片尺寸1088x727
cn204171327u_一种两板式高速压铸机失效
图片尺寸1000x500
离心铸造
图片尺寸375x298
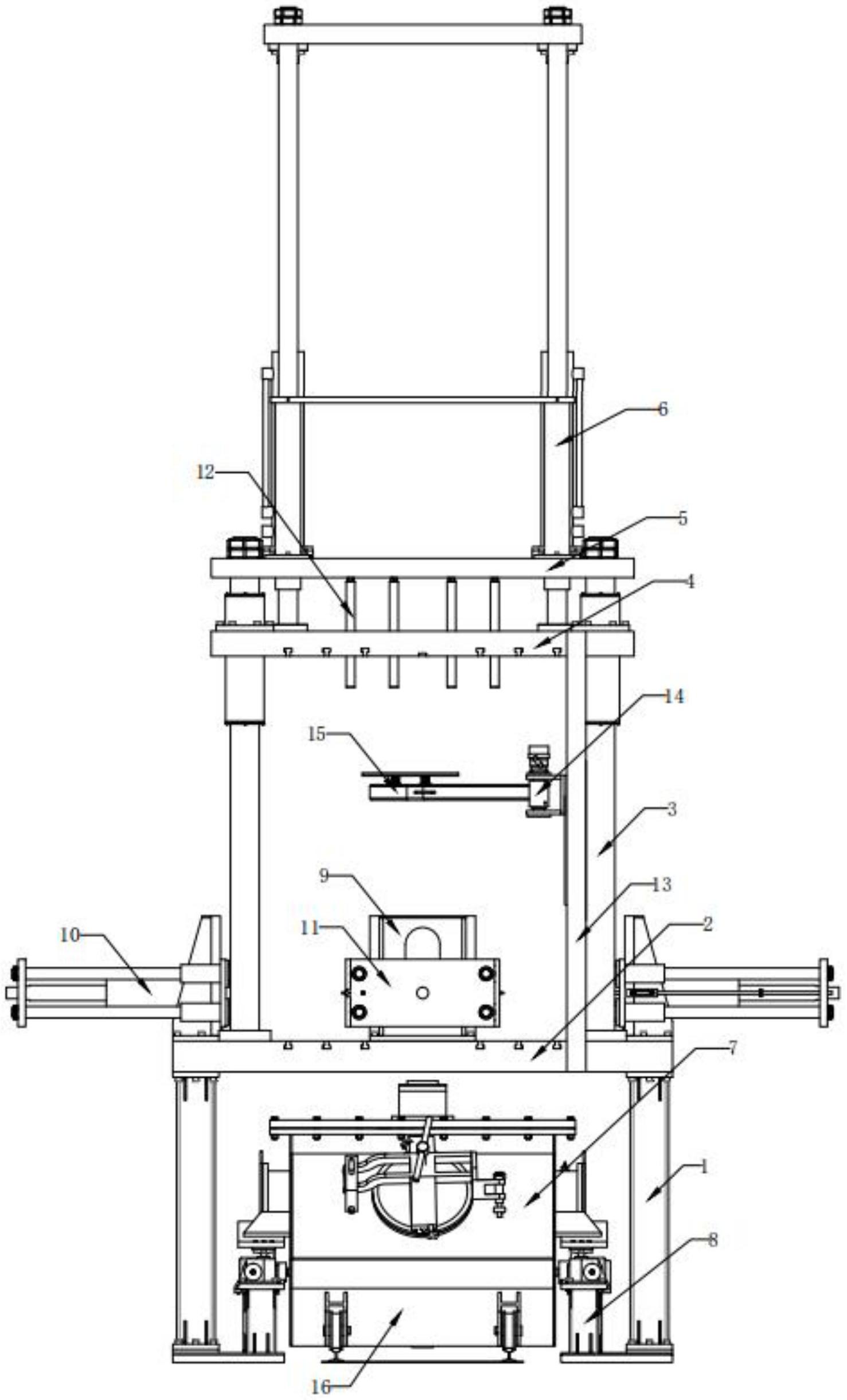
一种新型低压铸造机
图片尺寸1477x2440
压射结构及工作原理
图片尺寸640x485
力劲压铸机ppt
图片尺寸1080x810
冷室压铸机
图片尺寸1858x2036
180t六梁桥式铸造起重机结构设计2d图机械cad素材
图片尺寸957x718
力劲压铸机精要.ppt
图片尺寸1152x864
下面是冷式压铸机各装置的典型布局 主要有压铸机本机,给汤机,喷涂机
图片尺寸625x498
cn201128711y_一种珠胚压铸机失效
图片尺寸2035x1935
连铸机结构示意图
图片尺寸203x220
冷室压铸机的制作方法与工艺
图片尺寸987x1000
压铸机的结构
图片尺寸922x478
亿利达世界级精密冷室两板压铸机
图片尺寸600x392
低速压铸机
图片尺寸800x1157
一种800公斤级保温炉的低压铸造机
图片尺寸430x415
重力铸造机
图片尺寸1626x2633
而亿利达两板直压锁模压铸机在合模系统结构上则要简化
图片尺寸600x436
一种自动钢球铸造成型机
图片尺寸1286x1418