铺网机原理图

交叉式铺网原理
图片尺寸1155x891
cn101275313a_纤维网铺网机失效
图片尺寸2846x1005
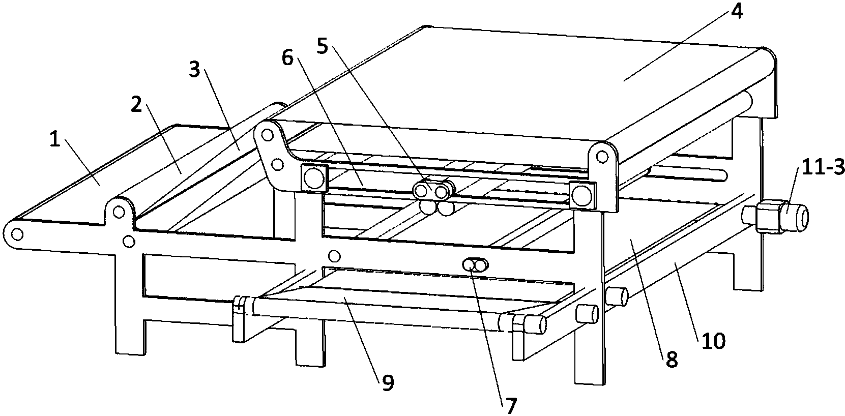
一种铺网机棉网牵伸调节机构及铺网机的制作方法
图片尺寸1000x391
一种交叉铺网机-爱企查
图片尺寸1510x773
一种棉被生产铺网机的制作方法
图片尺寸1000x501
一种用于无纺布生产的铺网机及设有该铺网机的生产线的制作方法
图片尺寸1000x538
一种化纤铺网机的制作方法
图片尺寸1000x744
cn101275314a_纤维网铺网机有效
图片尺寸2845x1108
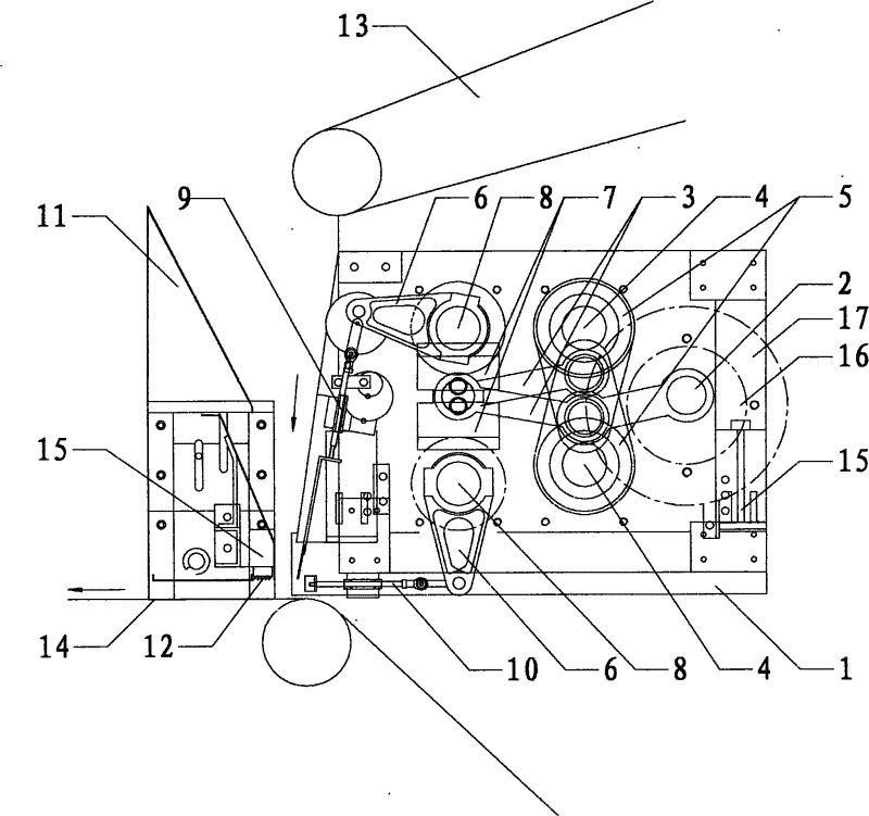
cn212335462u_一种铺网机的铺纬机构有效
图片尺寸1103x823
cn101671919b_一种交叉铺网机失效
图片尺寸1510x773
cn101012580b_交叉铺网机有效
图片尺寸2748x1068
一种带防静电喷淋功能的铺网机-爱企查
图片尺寸1415x1808
cn107558006a_一种具有降噪功能的无纺布铺网机在审
图片尺寸1000x708
交叉铺网机
图片尺寸1878x958
cn205529360u_一种批量生产无纺材料的铺网机失效
图片尺寸1661x818
一种无纺布生产用铺网机的制作方法
图片尺寸536x476
cn101012580a_交叉铺网机有效
图片尺寸2735x1085
背景技术:铺网机是将梳理机输出的纤网,经过输送进入一对纤网夹持帘
图片尺寸1000x603
一种纺织品生产用立式铺网机的制作方法
图片尺寸1000x645
一种新型垂直成型铺网机
图片尺寸800x751